Curiosii for ever!: Car repair manuals for everyone.

Pump Installation




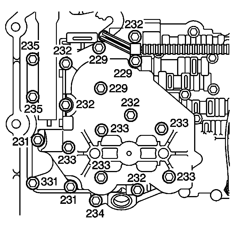
Pump Installation

Special Tools

J 39068 - Pump Assembly Guide Pins

For equivalent regional tools, refer to Special Tools (Tools and Equipment).




1. Install the J 39068 - guide pins into the case.
2. Install the new gasket (228).
3. Install the pump assembly (200-225).




4. Apply pipe thread sealant, GM P/N 12346004 to pump bolt threads before installation.
5. Hand start all of the bolts (229, 231, 232, 233, 234, 235, 331).





Caution: Refer to Fastener Caution (Fastener Caution).

6. Remove the guide pins, install the remaining bolts and tighten to 11-13 Nm (8.0-9.5 lb ft).