Curiosii for ever!: Car repair manuals for everyone.

Auxiliary Control Valve Body Assembly Installation




Auxiliary Control Valve Body Assembly Installation

Special Tools

J 39068 - Pump Assembly Guide Pins

For equivalent regional tools, refer to Special Tools (Tools and Equipment).




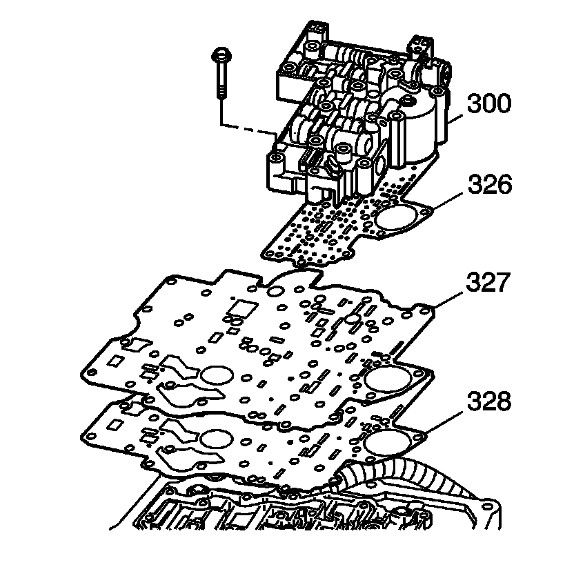
1. Install the J 39068 - guide pins for the upper valve body. Install the following parts:

* The spacer plate to case cover gasket (328)
* The case cover spacer plate (327)
* The valve body to spacer plate gasket (326)
* The upper control valve body (300)




2. Apply pipe thread sealant, GM P/N 12346004 to upper control valve body bolt threads.
3. Install the upper control valve body bolts (229, 329, 330, 331) and hand tighten.





Caution: Refer to Fastener Caution (Fastener Caution).

4. Remove the guide pins, install the remaining bolt and tighten to 11-13 Nm (8.0-9.5 lb ft).