Curiosii for ever!
: Car repair manuals for everyone.
Home
>>
Cadillac
>>
2009
>>
DTS V8-4.6L
>>
Repair and Diagnosis
>>
Brakes and Traction Control
>>
Disc Brake System
>>
Service and Repair
>>
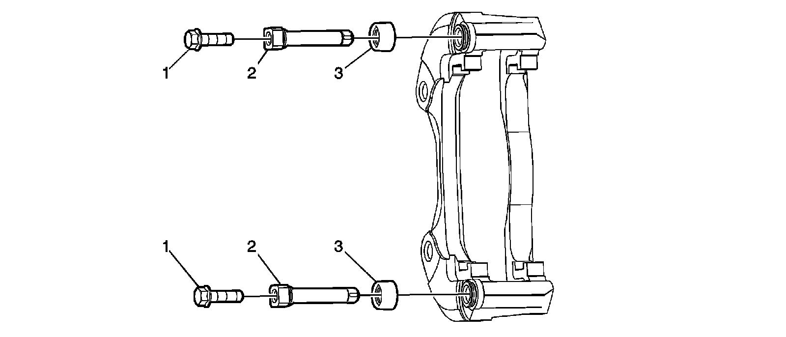
Front Disc Brake Hardware Replacement (JL9)
Front Disc Brake Hardware Replacement (JL9)
Front Disc Brake Hardware Replacement (JL9)