Curiosii for ever!
: Car repair manuals for everyone.
Home
>>
Cadillac
>>
2009
>>
CTS AWD V6-3.6L
>>
Repair and Diagnosis
>>
Transmission and Drivetrain
>>
Differential Assembly
>>
Application and ID
Differential Assembly: Application and ID
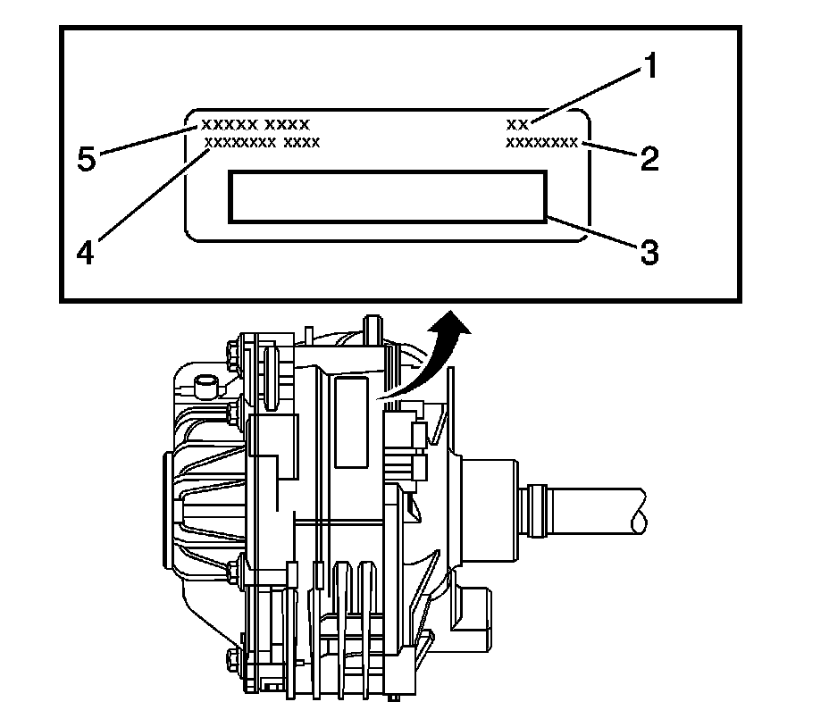
Front Axle Identification
1
- GM Logo
2
- GM Part Number
3
- Bar Code
4
- Getrag Serial Number
5
- Getrag Logo