Curiosii for ever!: Car repair manuals for everyone.

Fender: Service and Repair




Wheel Opening Flanging

Tools Required

Fender Flanging Tool




1. Raise the rear of the vehicle. Safely secure the vehicle on a jack stand.
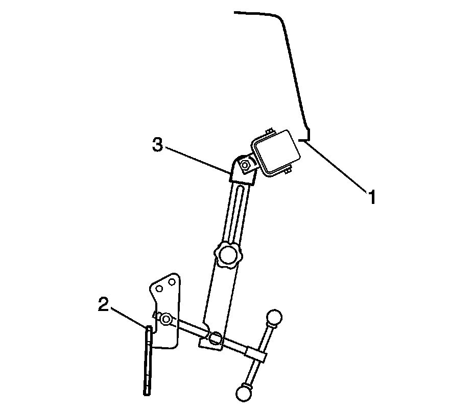
2. Remove the rear wheel when the flange needs to be bent (1).
3. Place the tool hub dish flange onto the wheel hub. Tighten the lugs to snug (2).
4. Adjust the arm length so that the center of the roller is aligned with the inboard flange of the outer wheelhouse.
5. Adjust the roller to achieve the desired angle to wheelhouse lip (3).




6. Tighten the hand wheel located on the tool (1) to apply slight pressure.
7. Use a heat gun to gently warm the area to be rolled. This will make the adhesives and paints more pliable around the outer wheelhouse.




8. Hold the tool firmly. Swing the tool in an arcing motion to reform the inner fender lip.




9. Adjust the tool as necessary by adding pressure to the rollers to redirect the flange to the desired location.
10. Remove the flanging tool.