Curiosii for ever!: Car repair manuals for everyone.

Electronic Brake Control Module: Service and Repair

The content of this article/image reflects the changes identified in TSB 05-05-25-007

Bulletin No.: 05-05-25-007

Date: September 16, 2005

SERVICE MANUAL UPDATE

Subject:
Revised Electronic Brake Control Module Replacement

Models:
2005 Cadillac STS

Electronic Brake Control Module Replacement

Removal Procedure

Important: The ignition switch must be placed in the OFF mode ONLY, before disconnecting the negative battery cable during this procedure. If the ignition switch is accidentally placed into ignition ON engine OFF mode, the control modules will be activated and disconnecting the negative cable will cause various DTC's to be set.

After the ignition switch is placed into OFF mode, a waiting period of 2 minutes must be observed to allow the high-speed LAN control modules to deactivate before disconnecting or connecting the negative battery cable during this procedure. If the waiting period is not observed, one or more of these control modules may still be activated, this will cause various DTC's to be set.


1. Place the ignition switch into OFF mode. DO NOT place the ignition switch into ignition ON engine OFF mode.
2. Wait for a minimum of 2 minutes to allow the high-speed LAN control modules to deactivate.
3. Disconnect the negative battery cable. Refer to Battery Negative Cable Disconnect/Connect Procedure.
4. Raise and support vehicle. Refer to Lifting and Jacking the Vehicle in General Information.
5. Remove the air deflector shield. Refer to Air Deflector Replacement-Front in Body Front End.
6. Remove the right front wheelhouse liner. Refer to Fender, Fender Insulator, Wheelhouse Liner Replacement-Front in Body Front End.

Important: It is not necessary to remove the washer solvent container from the vehicle.

7. Remove the washer solvent container bracket, if equipped. Refer to Solvent Container, Pump, Level Sensor Replacement-Windshield Washer in Wipers/Washer Systems.

Important: The area around the electronic brake control module (EBCM) must be free from loose dirt to prevent contamination of dissembled ABS components.

8. Thoroughly clean all of the contaminants from and around the EBCM assembly.

Note:To prevent equipment damage, never connect or disconnect the wiring harness connection from the EBCM with the ignition switch in the ON position.

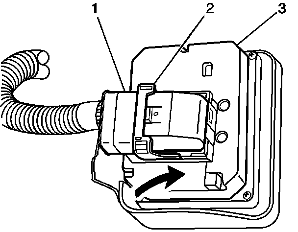
9. Press the retainer on the EBCM electrical connector (1).






10. Rotate the EBCM connector tab (2) forward to the unlocked position.






11. Disconnect the EBCM electrical connector (1) from the EBCM and position out of the way.






12. Remove the 4 EBCM to brake pressure modulator valve (BPMV) screws (1).
13. Clean the surface of the EBCM/BPMV assembly.

Important: The EBCM cannot be repaired. If faulty, the unit must be replaced.

14. Separate the EBCM (1) from the BPMV (2).

Installation Procedure






1. Clean the seal surface of the BPMV (2).
2. Make sure that the internal pump motor connector (3) is installed into the new EBCM (1) prior to EBCM replacement.
3. Install the EBCM (1) to the BPMV (2).







4. Install the 4 EBCM to BPMV screws.

Tighten

Tighten the 4 EBCM to BPMV screws in sequence (1-4) to 5 Nm (44 lb in).






Note: To prevent equipment damage, never connect or disconnect the wiring harness connection from the EBCM with the ignition switch in the ON position.

5. Connect the EBCM electrical connector (1) to the EBCM (3).
6. Rotate the EBCM connector tab (2) rearward to the locked position.
7. Install the washer solvent container bracket, if equipped. Refer to Solvent Container, Pump, Level Sensor Replacement-Windshield Washer in Wipers/Washer Systems.
8. Install the wheelhouse liner. Refer to Fender, Fender Insulator, Wheelhouse Liner Replacement-Front in Body Front End.
9. Install the air deflector shield.
10. Lower the vehicle.
11. Connect the negative battery cable.
12. If installing a new EBCM it is necessary to program the EBCM.
13. Perform the Diagnostic System Check - Vehicle.






Disclaimer