Curiosii for ever!: Car repair manuals for everyone.

Acceleration/Deceleration Sensor: Service and Repair



Yaw Rate Sensor/Lateral and Longitudinal Accelerometer Replacement
Removal Procedure
1. Turn OFF the ignition.
2. To access the yaw rate sensor/lateral and longitudinal accelerometer move the passenger seat rearward.
3. Carefully lift the carpet by the seam.





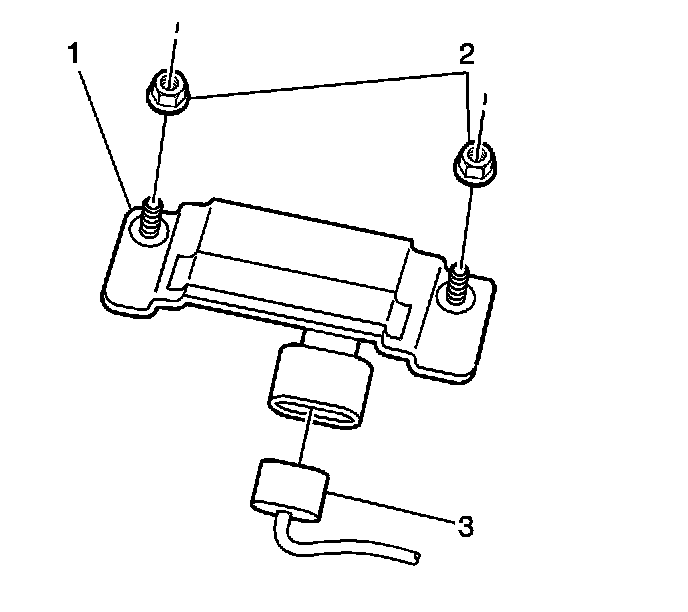
4. Remove the 2 yaw rate sensor/lateral and longitudinal accelerometer mounting nuts (2).





5. Disconnect the yaw rate sensor/lateral and longitudinal accelerometer electrical connector (2) from the yaw rate sensor/lateral and longitudinal accelerometer.
6. Remove the yaw rate sensor/lateral and longitudinal accelerometer (1).

Installation Procedure





1. Install the yaw rate sensor/lateral and longitudinal accelerometer (1).

2. Install the 2 yaw rate sensor/lateral and longitudinal accelerometer nuts (2).
Tighten the yaw rate sensor/lateral and longitudinal accelerometer mounting nuts to 9 Nm (80 inch lbs.).

Notice: Refer to Fastener Notice in Service Precautions.






3. Connect the yaw rate sensor/lateral and longitudinal accelerometer electrical connector (2) to the yaw rate sensor/lateral and longitudinal accelerometer (1).
4. Perform the System Check-Vehicle. Refer to Diagnostic System Check. Testing and Inspection