Curiosii for ever!: Car repair manuals for everyone.

Unit Repair Manual



Disassembled Views

Driven Sprocket Support and 2nd Clutch Assembly:





53 - Scavenger Tube Seal
418 - Driven Sprocket Support
419 - Oil Transfer Sleeve
422 - Oil Ring (2)
422 - Oil Ring (2)
423 - 4 Lobe Seal Ring (2)
423 - 4 Lobe Seal Ring (2)
424 - Spring Pin
425 - 3rd Clutch Exhaust Valve Spring
427 - 3rd Clutch Exhaust Valve
428 - 2nd Clutch Return Spring and Retainer Assembly
429 - 2nd Clutch/Driven Sprocket Snap Ring
430 - 2nd Clutch Piston Assembly
431 - 2nd Clutch Waved Plate
432 - 2nd Clutch Apply Plate
433 - 2nd Clutch Steel Plate (3)
433 - 2nd Clutch Steel Plate (3)
433 - 2nd Clutch Steel Plate (3)
434 - 2nd Clutch Backing Plate
435 - 2nd Clutch Fiber Plate (4)
435 - 2nd Clutch Fiber Plate (4)
435 - 2nd Clutch Fiber Plate (4)
435 - 2nd Clutch Fiber Plate (4)
436 - Support/Reverse Clutch Thrust Washer
437 - 0.1875 Diameter Checkball

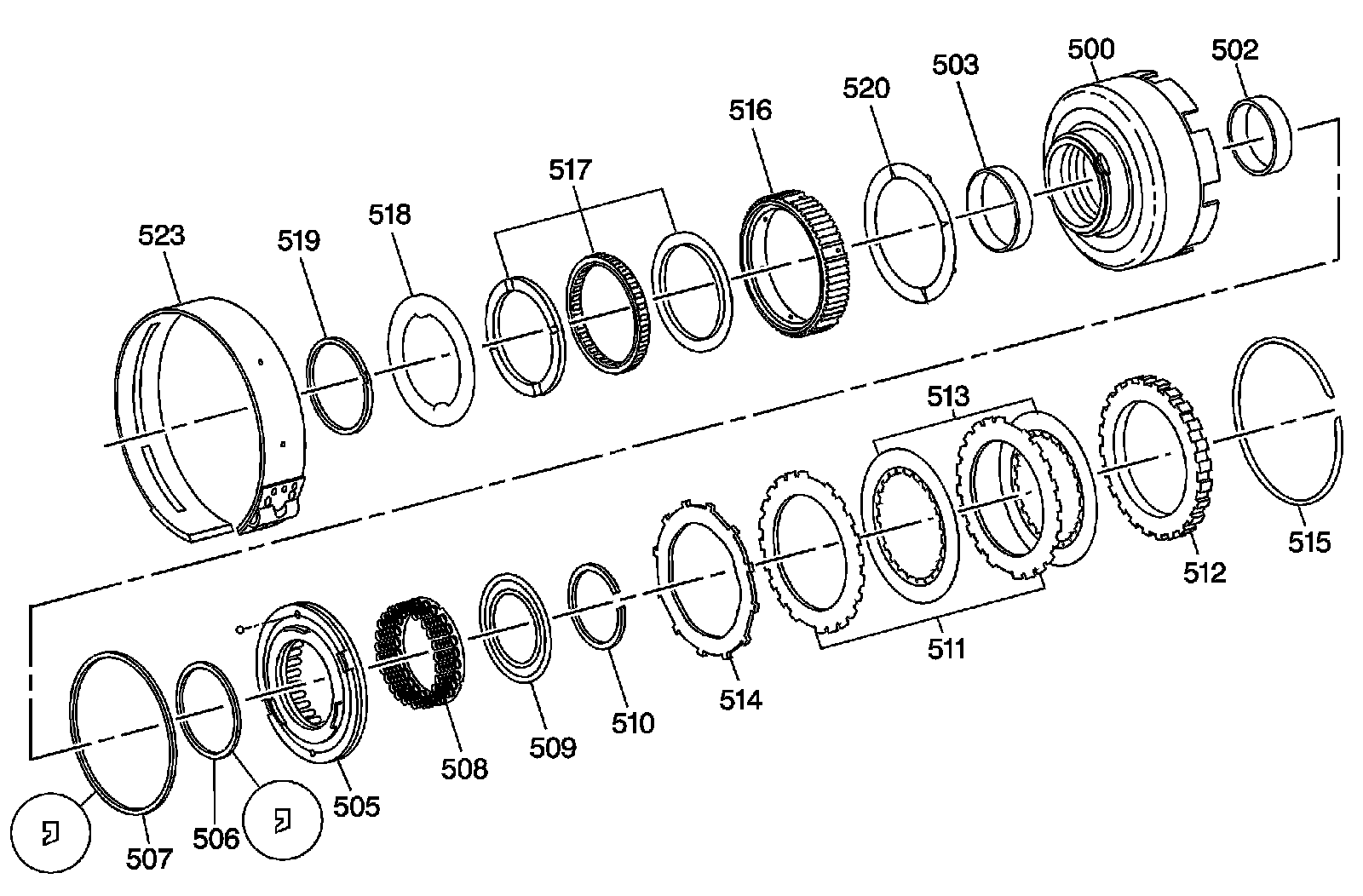
Reverse Clutch and 2nd Sprag Clutch Assemblies:





500 - Reverse Clutch Housing and Race Assembly
502 - Bushing (Small)
503 - Bushing (Large)
505 - Reverse Clutch Piston Assembly
506 - Seal (Inner)
507 - Seal (Outer)
508 - Spring and Retainer Assembly
509 - Snap Ring Retainer
510 - Return Spring Snap Ring
511 - Reverse Clutch Plate (Steel) (2)
512 - Reverse Clutch Backing Plate (Selective)
513 - Reverse Clutch Plate Assembly (Fiber) (2)
514 - Waved Plate (Apply)
515 - Snap Ring
516 - 2nd Sprag Race (Outer)
517 - 2nd Sprag Clutch Assembly
518 - 2nd Sprag Clutch Retainer
519 - Locking Ring
520 - 2nd Clutch Outer Race Washer
523 - 4th Band

3rd Clutch and Reaction Carrier Assembly:





515 - Snap Ring
521 - Thrust Bearing Assembly
522 - Driven Sprocket Support Thrust Washer (Selective)
602 - Input Shaft Bushing
603 - Input Shaft/Oil Transfer Sleeve
604 - 3rd Clutch Housing
606 - 3rd Clutch Piston Assembly
607 - Spring and Retainer Assembly
608 - Snap Ring Retainer
609 - Return Spring Snap Ring
610 - 3rd Clutch Plate Assembly (Fiber) (4)
611 - 3rd Clutch Apply Plate (Steel)
612 - 3rd Clutch Plate (Steel) (3)
613 - 3rd Clutch Backing Plate
614 - Oil Seal Ring (2)
615 - Input Shaft/3rd Hub Thrust Washer
616 - Input Shaft/Input Sun Gear Snap Ring
617 - 3rd Clutch Hub
618 - Hub Bushing
619 - Hub/Gear and Shell Thrust Bearing Assembly (2)
619 - Hub/Gear and Shell Thrust Bearing Assembly (2)
620 - Reaction Sun Gear and Shell Assembly
622 - Reaction Sun Gear Bushing
623 - Reaction Carrier
625 - Planet Pinion (4)
626 - Planet Pinion Pin (4)
627 - Roller Bearing Needle (68)
628 - Steel Pinion Thrust Washer (8)
628 - Steel Pinion Thrust Washer (8)
629 - Bronze Pinion Thrust Washer (8)
629 - Bronze Pinion Thrust Washer (8)
631 - Input Sun Gear
640 - Input Sun Gear to Reaction Carrier Thrust Bearing

Input Carrier and Forward Sprag Clutch Assemblies:





132 - Thrust Bearing Assembly
626 - Planet Pinion Pin (4)
627 - Roller Bearing Needle (68)
628 - Steel Pinion Thrust Washer (8)
628 - Steel Pinion Thrust Washer (8)
633 - Reaction Carrier Shell
700 - Input Carrier Assembly
702 - Planet Pinions (4)
706 - Bronze Thrust Washer (8)
706 - Bronze Thrust Washer (8)
708 - Internal Gear (2)
708 - Internal Gear (2)
709 - Snap Ring (2)
709 - Snap Ring (2)
710 - Thrust Bearing Assembly
713 - Thrust Washer (Flange To Outer Race)
716 - Forward Clutch Sprag Assembly
717 - Snap Ring (Coast Clutch Hub Retainer)
718 - Thrust Bearing (Flange/Forward Clutch Housing)
719 - Coast Clutch Hub
720 - Thrust Washer (Race/Coast Clutch Hub)
721 - Forward Sprag Race (Outer)
722 - Final Drive Sun Gear Shaft
723 - Input Flange Bushing
724 - Snap Ring (Final Drive Shaft/Input Carrier)
725 - Input Internal Gear Flange

Forward Clutch Assembly:





417 - Thrust Bearing
437 - 0.1875 Diameter Checkball
801 - Forward and Coast Clutch Housing
803 - Housing Bushing (Small)
804 - Housing Bushing (Large)
807 - Forward Clutch Piston
808 - Seal (Inner)
809 - Seal (Outer)
810 - Coast Clutch Piston Assembly
811 - Forward Clutch Ring (Apply)
812 - Coast Clutch Plate (Apply)
813 - Coast Clutch Plate (Steel)
814 - Coast Clutch Plate (Fiber) (2)
816 - Forward Clutch Plate (Steel) (4)
817 - Forward Clutch Plate (Fiber) (5)
818 - Snap Ring (Forward Clutch Backing Plate)
819 - Forward Clutch Backing Plate
820 - Forward Clutch Release Spring Assembly
821 - Snap Ring (Forward Return Spring Assembly/Housing)
840 - Forward and Coast Clutch Plate (2)
840 - Forward and Coast Clutch Plate (2)
841 - Forward and Coast Clutch Plate (Belleville)

Forward Clutch Support Assembly:





13 - Low/Reverse Band
120 - Final Drive Internal Gear
121 - Final Drive Sun Gear
122 - Final Drive Sun Gear Seal
135 - Snap Ring
822 - Forward/Coast Clutch Support
824 - Oil Transfer Sleeve
825 - Left Support/Sun Shaft Bushing
826 - Right Support/Sun Shaft Bushing
827 - Oil Hole Plug Ball (2)
828 - Cooler Return Seal
829 - Support/Housing Oil Seal Ring
830 - Low Roller Clutch Assembly
832 - Forward Clutch Support/Park Gear Thrust Bearing
833 - Parking Lock Gear
834 - Final Drive Shaft to Park Gear Snap Ring
835 - Support/Case Fretting Ring