Curiosii for ever!: Car repair manuals for everyone.

Shift Interlock Solenoid: Service and Repair



Automatic Transmission Shift Lock Actuator Replacement

Removal Procedure
1. Remove the shift control boot.
2. Remove the center console assembly.





3. Disconnect the wiring harness connector (1) from the shift lock control pigtail connector (2).
4. Slide the pigtail connector (2) off of the retainer (3).
5. Remove the pigtail harness from the wire retainer (4).





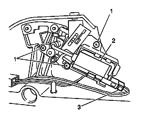
6. Remove the three shift lock actuator attaching screws (1).
7. Remove the shift lock actuator (2) from the shift control assembly.

Installation Procedure





1. Install the shift lock actuator (2) to the shift control assembly.
2. Install the three shift lock actuator attaching screws (1).





3. Slide the pigtail connector (2) onto the retainer (3).
4. Connect the wiring harness connector (1) to the shift lock control pigtail connector (2).
5. Install the pigtail harness into the wire retainer (4).
6. Install the center console assembly.
7. Install the shift control boot.