Curiosii for ever!: Car repair manuals for everyone.

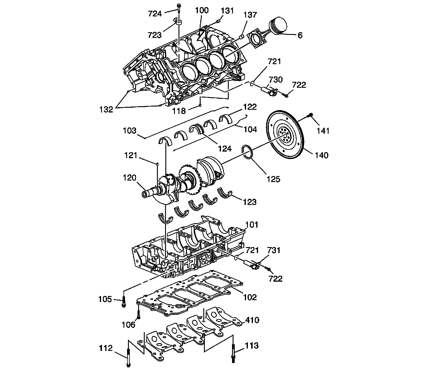
Engine Block Assembly

Engine Block Assembly





6. Piston, Rings and Connecting Rod Assembly
100. Engine Block
101. Lower Crankcase
102. Engine Oil Manifold
103. Lower Crankcase-to-Engine Block Right Seal
104. Lower Crankcase-to-Engine Block Left Seal
105. Lower Crankcase Perimeter Bolt
106. Engine Oil Manifold Bolt
112. Lower Crankcase Bolt
113. Lower Crankcase Stud - Oil Pump Suction Pipe
118. Lower Crankcase-to-Engine Block Pin
120. Crankshaft
121. Crankshaft Pin
122. Crankshaft Upper Bearings
123. Crankshaft Lower Bearings
124. Crankshaft Upper Thrust Bearing
125. Crankshaft Rear Oil Seal
131. Engine Block Dowel Pins
132. Engine Front Cover-to-Engine Block Pin
137. Cylinder Head Dowel Pins
140. Engine Flywheel
141. Engine Flywheel Bolt
410. Engine Oil Pan Baffle
7G21. Upper Crankshaft Position Sensor O-Ring
721. Upper Crankshaft Position Sensor O-Ring
722. Upper Crankshaft Position Sensor Bolt
722. Upper Crankshaft Position Sensor Bolt
723. Knock Sensor
724. Knock Sensor Bolt
730. Upper Crankshaft Position Sensor
731. Lower Crankshaft Position Sensor