Curiosii for ever!: Car repair manuals for everyone.

Ignition Switch Lock Cylinder: Service and Repair





IGNITION SWITCH LOCK CYLINDER REPLACEMENT

REMOVAL PROCEDURE
1. Disable the SIR. Service and Repair

CAUTION: Refer to SIR Caution in Service Precautions.

2. Apply the parking brake.
3. Disconnect the negative battery cable.
4. Remove the radio. Service and Repair
5. Insert the ignition key into the ignition cylinder.




6. If the keys are broken or unavailable or the ignition lock cylinder is seized, proceed with the following steps:
6.1. Pry the ignition lock cylinder bezel off of the ignition switch.
6.2. Remove the knee bolster.
6.3. Disconnect the ignition switch electrical connectors.
6.4. Remove the fasteners securing the ignition switch to the instrument panel (I/P) retainer.
6.5. Remove the ignition switch through the radio opening.
6.6. Protect the immediate work area with suitable materials such as clean shop towels or a clean fender cover.
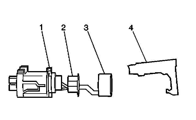
6.7. Locate the ignition switch lock cylinder release button (2) on the plastic ignition switch housing.
6.8. Center punch on the rib (1) approximately 3/8 inch toward the key entry end of the ignition lock housing.
6.9. Drill a pilot hole through the plastic housing, where the housing had been center punched in the previous step, with a 1/8 inch drill bit.
6.10. Drill the larger hole at the pilot location, and slightly into the ignition switch lock cylinder surface to break the release button retaining spring using a 1/4 inch drill bit.
6.11. Use a magnet and remove the lock cylinder release button (2).
6.12. Grasp the ignition switch lock cylinder and remove it from the switch housing.
6.13. Remove any plastic flash from the drilling operation. Using compressed air, blow out the ignition switch assembly and proceed to step 10.

IMPORTANT: A new lock cylinder housing and lock cylinder bezel will be required if the ignition cylinder is seized or the ignition key is lost or broken.




7. Turn the ignition to the RUN position.
8. Look through the I/P trim cover opening in the I/P and locate the ignition lock cylinder release button (3) located on the right lower side of the ignition switch assembly (2).
9. Using a small flat-bladed tool depress and hold the ignition lock cylinder release button (3).




10. Pull on the ignition cylinder in order to remove the cylinder.




11. Release the ignition cylinder lock cylinder bezel retaining tabs.
12. Remove the ignition lock cylinder bezel.




13. Remove the light pipe (2) from the lock cylinder.
14. Slide the reader/exciter (4) off of the ignition lock cylinder.

INSTALLATION PROCEDURE




1. Slide the reader/exciter (4) onto the ignition lock cylinder.
2. Install the ignition lock cylinder light pipe (2) to the ignition cylinder (1).
3. Install the ignition cylinder bezel to the ignition lock cylinder, and engage the retainers.
4. If the ignition lock cylinder was previously seized, proceed with the following steps:
4.1. Turn the ignition switch to the RUN position.
4.2. Install the ignition switch to the I/P.
4.3. Connect the ignition switch electrical connectors.
4.4. Install the knee bolster.
4.5. Turn the new ignition lock cylinder to the RUN position.
4.6. Push the ignition lock cylinder into the ignition switch until fully seated. It may be necessary to slightly depress the release button as it passes by the 1/4 inch hole drilled in the switch housing.
4.7. Go to step 6.




5. With the ignition key installed in the ignition lock cylinder (1) and the ignition lock cylinder in RUN, insert the ignition lock cylinder (1) into the I/P opening (2). The lock cylinder release button (3) will produce an audible click, when fully engaged.
6. Using light force, pull on the lock cylinder in order to ensure the lock cylinder is engaged.
7. Turn the ignition to LOCK, then remove the ignition key.
8. Install the radio.
9. Release the parking brake.
10. Connect the negative battery cable.
11. Inspect the ignition cylinder and switch for proper operation in all positions.
12. Enable the SIR system. Refer to SIR Disabling and Enabling Zone 7.