Curiosii for ever!: Car repair manuals for everyone.

Air Bag Control Module: Service and Repair

INFLATABLE RESTRAINT SENSING AND DIAGNOSTIC MODULE REPLACEMENT

REMOVAL PROCEDURE

CAUTION:
- Do not strike or jolt the inflatable restraint sensing and diagnostic module (SDM). Before applying power to the SDM, make sure that it is securely fastened with the arrow facing toward the front of the vehicle. Failure to observe the correct installation procedure could cause SIR deployment, personal injury, or unnecessary SIR system repairs.
- If the vehicle interior is exposed to moisture and becomes soaked up to the level of the sensing and diagnostic module (SDM), the SDM and SDM harness connector must be replaced. The SDM could be activated when powered, which could cause airbag deployment and result in personal injury.





1. Disable the SIR system. Refer to SIR Disabling and Enabling Zone 9.
2. Remove the passenger seat.
3. Remove the passenger carpet retainer.
4. Lift up the carpet and insulation in order to access the Inflatable Restraint Sensing and Diagnostic module (SDM).




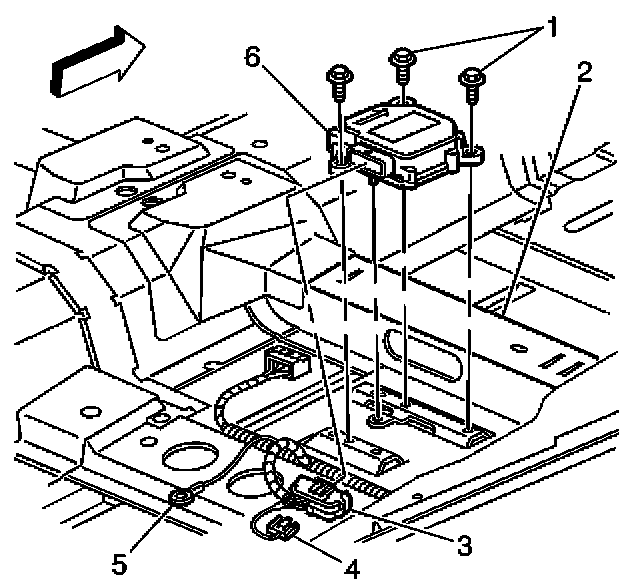
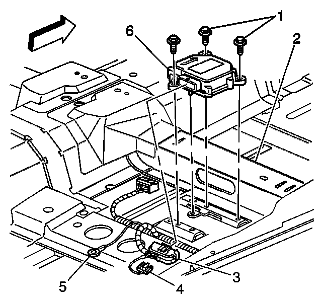
5. Remove the Connector Position Assurance (CPA) (3) from the SDM harness connector (2).
6. Disconnect the SDM harness connector (2) from the SDM (1).




7. Remove the SDM (6) mounting bolts (1).
8. Remove the SDM (6) from the floor (2).

INSTALLATION PROCEDURE




1. Remove any dirt, grease, or other impurities from the SDM mounting surface.
2. Install the SDM (6) horizontally to the floor (2).
3. Ensure the arrow on the SDM (6) points toward the front of the vehicle.
4. Install the SDM mounting bolts (1).

NOTE: Refer to Fastener Notice in Service Precautions.

Tighten
Tighten the bolts to 9 N.m (80 lb in).




5. Install the SDM harness connector (2) to the SDM (1).
6. Install the CPA (3) to the SDM wiring harness connector (2).




7. Install the carpet to the floor.
8. Install the passenger carpet retainer.
9. Install the passenger seat.
10. Enable the SIR system. Refer to SIR Disabling and Enabling Zone 9.
11. After replacing the SDM the new SDM must be programmed into the Dash Integration Module. Programming and Relearning