Curiosii for ever!: Car repair manuals for everyone.

Clutch Switch: Service and Repair

Clutch Pedal Position Switch Replacement

Removal Procedure
1. Remove the closeout/insulator panel.
2. Disconnect the clutch pedal position switch electrical connector.





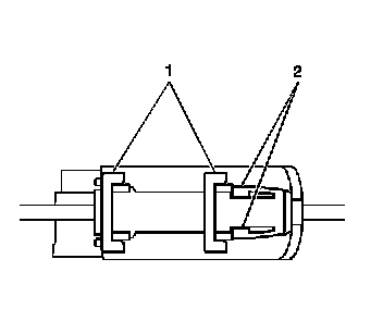
3. Push the clutch position switch retaining plate locking tabs (2) toward each other.





4. Slide the retaining plate (1) past the locking tabs.
5. Remove the retaining plate (1) from the clutch pedal position switch (2).
6. Remove the clutch pedal position switch (2) from the clutch master cylinder push rod (3).

Installation Procedure





1. Install the clutch pedal position switch (2) to the clutch master cylinder push rod (3).
2. Install the retaining plate (1) to the clutch pedal position switch (2).





3. Slide the retaining plate into the locked position until the retaining tabs (1) and the locking tabs (2) are fully engaged.
4. Connect the clutch pedal position switch electrical connector.
5. Install the closeout/insulator panel.