Curiosii for ever!: Car repair manuals for everyone.

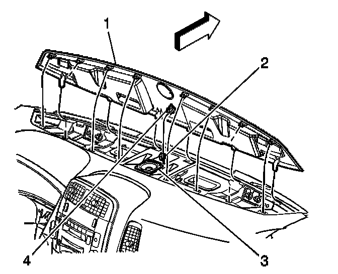
Sunload and Twilight Sentinel Sensor Replacement

SUNLOAD AND TWILIGHT SENTINEL SENSOR REPLACEMENT

REMOVAL PROCEDURE




1. Remove the defroster grille (1).
2. Disconnect the electrical connector (4).
3. Twist the sensor in order to release it from the defroster grille.

INSTALLATION PROCEDURE




1. Install the sensor to the defroster grille (1).
2. Connect the electrical connector (4).
3. Install the defroster grille.