Door Control Module Replacement
DOOR CONTROL MODULE REPLACEMENTREMOVAL PROCEDURE
1. Remove the door trim panel.
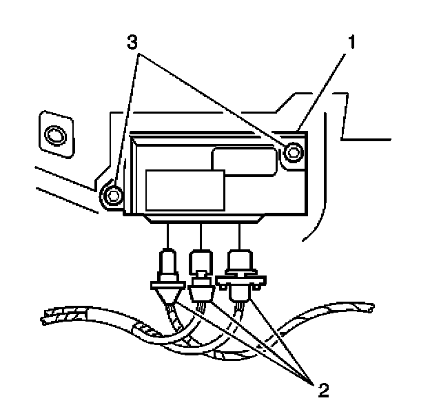
2. Disconnect the electrical connectors (2) from the control module.
3. Remove the door control module (1) by releasing the retainer tabs (3).
INSTALLATION PROCEDURE
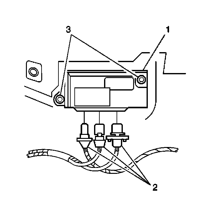
1. Snap the door module (1) onto the water deflector.
2. Connect the electrical connectors (2).
3. Install the door trim panel.