Curiosii for ever!: Car repair manuals for everyone.

Antenna Module Replacement

ANTENNA MODULE REPLACEMENT

REMOVAL PROCEDURE
1. Remove the headliner.




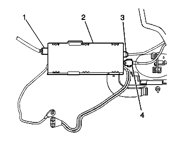
2. Disconnect the coax cables (3,4).
3. Disconnect the electrical connector (1).
4. Slide the diversity antenna module (2) off the mounting bracket.

INSTALLATION PROCEDURE




1. Install the diversity antenna on to the mounting bracket.
2. Connect all the electrical connectors.
3. Install the headliner.