Curiosii for ever!
: Car repair manuals for everyone.
Home
>>
Cadillac
>>
2002
>>
Eldorado V8-4.6L VIN Y
>>
Repair and Diagnosis
>>
Specifications
>>
Mechanical Specifications
>>
Engine
>>
Cylinder Block Assembly
>>
System Specifications
>>
Thread Repair Specifications
>>
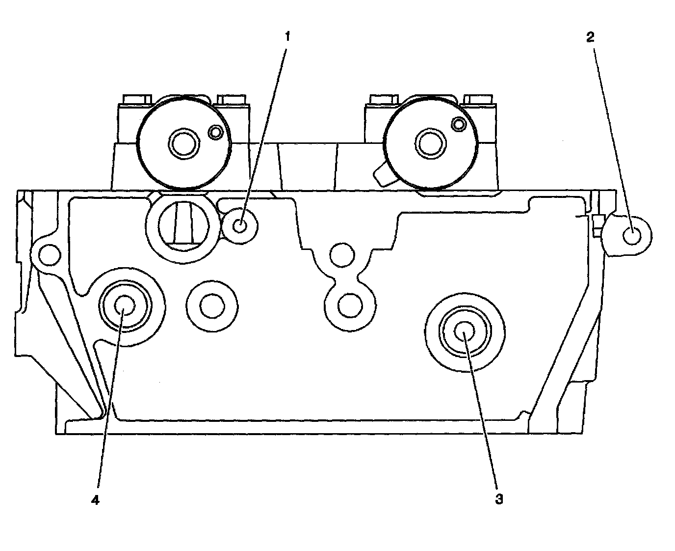
Right Cylinder Head Front Face
Right Cylinder Head Front Face
Right Cylinder Head Front Face
Part 1 of 2
Part 2 of 2