Curiosii for ever!: Car repair manuals for everyone.

Engine

Disassembled Views








Engine Covers and Component Assemblies (1 of 2)








Engine Covers and Component Assemblies (2 of 2)





Camshaft Cover Assembly








Camshaft Timing Components





Intake Manifold





Cylinder Head Assemblies





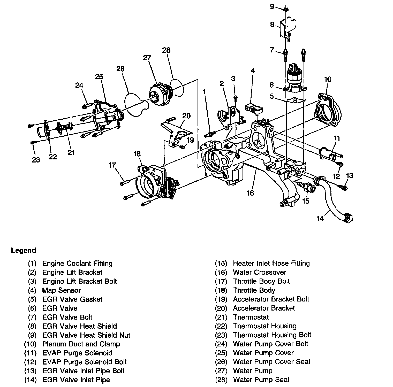
Water Crossover and Throttle Body Assembly





Oil Pump





Engine Block Assembly





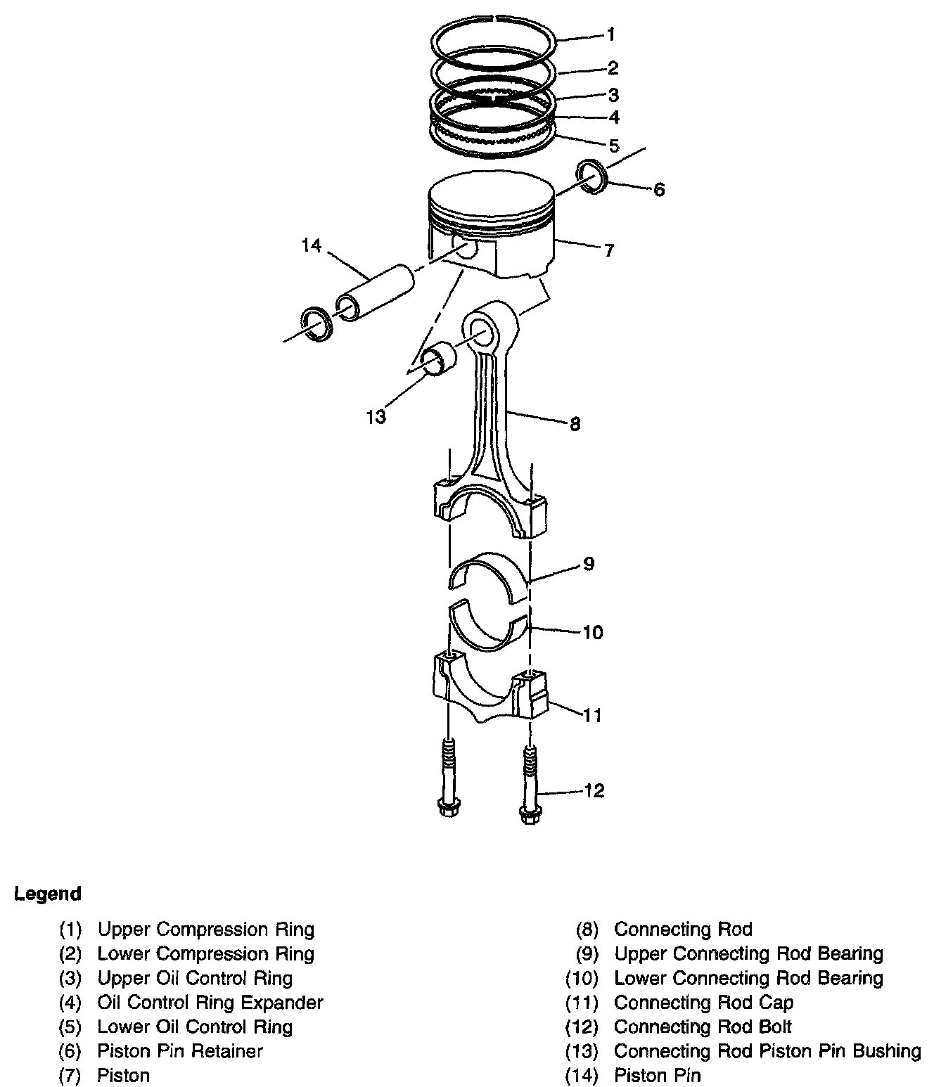
Piston, Rings, Bearing and Connecting Rod





Oil Filter Adapter





Oil Filter Adapter with Oil Cooler