Curiosii for ever!: Car repair manuals for everyone.

Memory Mirror Module (MMM) Replacement



Memory Mirror Module (MMM) Replacement

Removal Procedure





1. Open the driver door.
2. Remove the close-out insulator panel. Refer to Closeout/Insulator Panel Replacement - Left (Service and Repair) in Instrument Panel, Gages and Console.
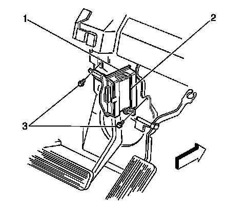
3. Disconnect the electrical connector (3) from the memory mirror module (MMM) (1).
4. Release the locking tab (2) in order to remove the module (1).
5. Slide the (MMM) rearward in order to remove from the bracket.




6. Remove the fasteners (3) from the (MMM) bracket (1).
7. Remove the bracket.



Installation Procedure





1. Install the (MMM) bracket (1) to the instrument panel.

Notice: Refer to Fastener Notice in Cautions and Notices.

2. Install the fasteners (3).

Tighten the fasteners to 6 N.m (53 lb in).





3. Slide the (MMM) module (1) into the bracket.
4. Ensure the locking tab (2) is secure.
5. Connect the electrical connector (3).
6. Install the close-out insulator panel. Refer to Closeout/Insulator Panel Replacement - Left (Service and Repair) in Instrument Panel, Gages and console.
7. Close the driver door.