Curiosii for ever!: Car repair manuals for everyone.

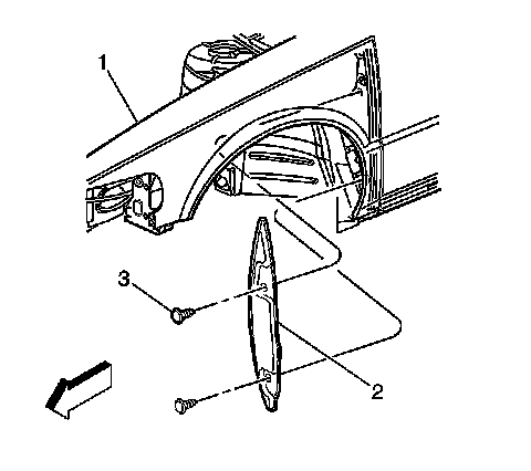
Front Fender Insulator Replacement



Front Fender Insulator Replacement

Removal Procedure

1. Remove the front wheelhouse liner. Refer to Front Wheelhouse Liner Replacement (Service and Repair).




2. Remove the push in retainers (3) from the front fender sound insulator (2) to the vehicle.
3. Remove the front fender sound insulator (2).



Installation Procedure





1. Install the front fender sound insulator (2) to the vehicle.
2. Install the push- in retainers (3) to secure the front fender sound insulator (2).
3. Install the front wheelhouse panel. Refer to Front Wheelhouse Liner Replacement (Service and Repair).