Curiosii for ever!: Car repair manuals for everyone.

Body Control Module

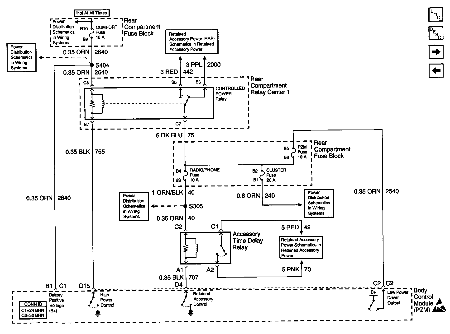
Body Control Module Schematics: Body Control Module Inputs And Outputs (Part 1 Of 4):




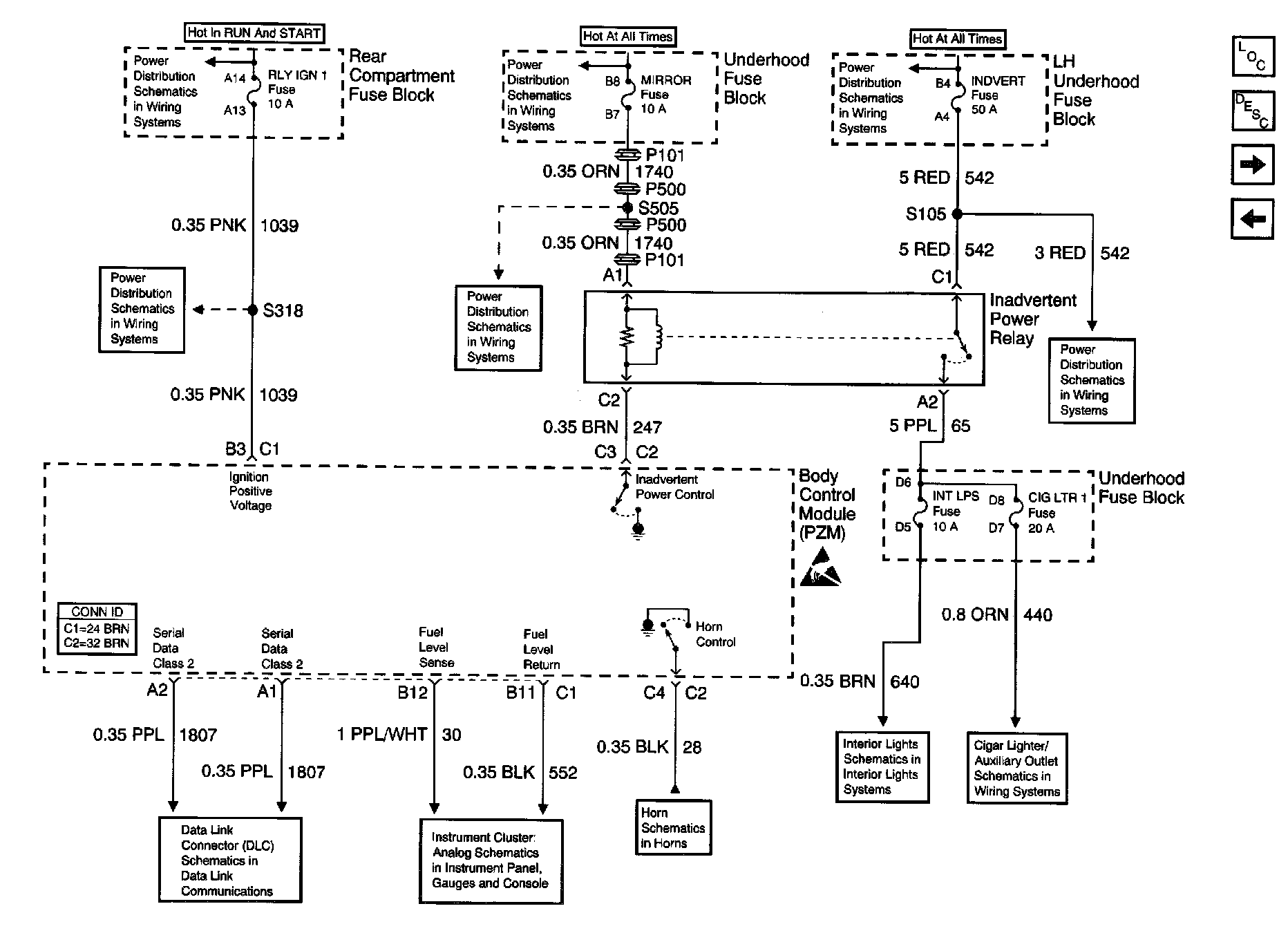
Body Control Module Schematics: Body Control Module Inputs And Outputs (Part 2 Of 4):




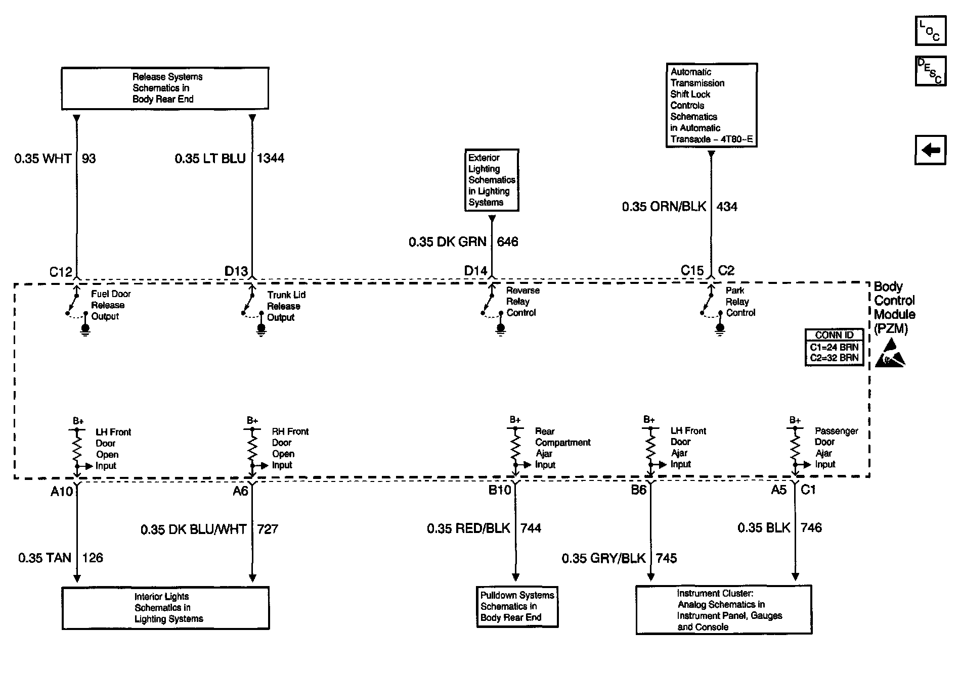
Body Control Module Schematics: Body Control Module Inputs And Outputs (Part 3 Of 4):




Body Control Module Schematics: Body Control Module Inputs And Outputs (Part 4 Of 4):