Curiosii for ever!
: Car repair manuals for everyone.
Home
>>
Cadillac
>>
2000
>>
DeVille V8-4.6L VIN 9
>>
Repair and Diagnosis
>>
Powertrain Management
>>
Computers and Control Systems
>>
Relays and Modules - Computers and Control Systems
>>
Body Control Module
>>
Diagrams
>>
Electrical Diagrams
>>
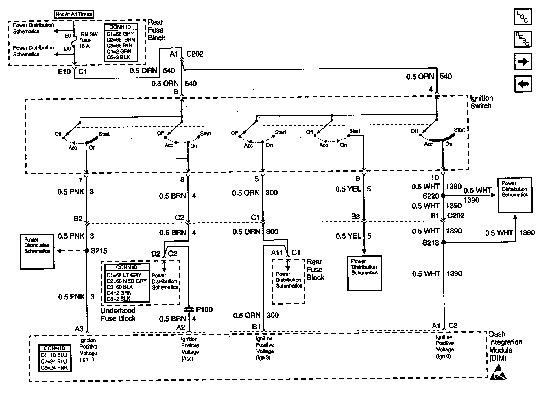
Dash Integration Module (DIM)
>>
DIM Ignition Switch Inputs
DIM Ignition Switch Inputs
Body Control Module Schematics: Dash Integration Module (DIM) - Ignition Switch Inputs: