Curiosii for ever!: Car repair manuals for everyone.

System Diagram









Engine Covers and Component Assemblies (1 of 2)









Engine covers and Component Assemblies (2 of 2)






Camshaft Cover Assembly









Camshaft Timing Components






Intake Manifold






Cylinder Head Assemblies






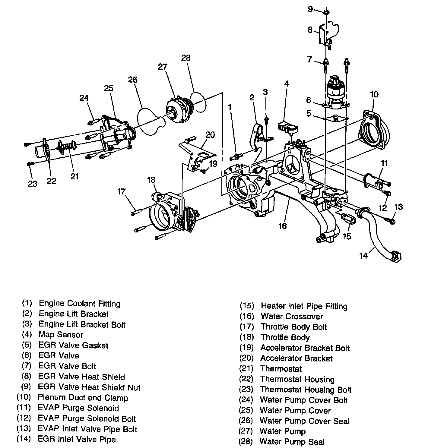
Water Crossover and Throttle Body Assembly






Oil Pump






Engine Block Assembly






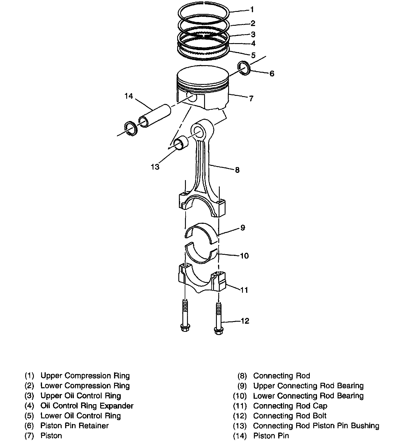
Piston, Rings, Bearing and Connecting Rod






Oil Filter Adapter






Oil Filter Adapter with Oil Cooler