Curiosii for ever!
: Car repair manuals for everyone.
Home
>>
Cadillac
>>
2000
>>
DeVille V8-4.6L VIN 9
>>
Repair and Diagnosis
>>
Diagrams
>>
Electrical Diagrams
>>
Powertrain Management
>>
Computers and Control Systems
>>
Body Control Module
>>
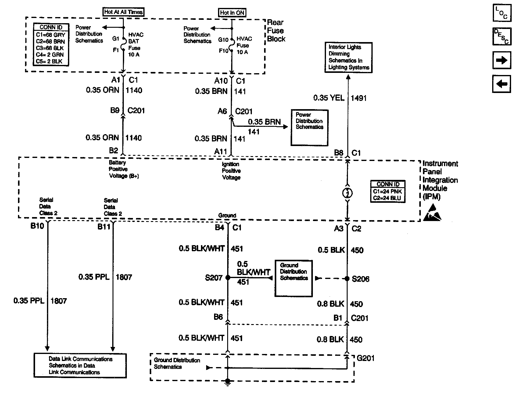
Instrument Panel Integration Module (IPM)
>>
Power, Ground And Serial Data
Power, Ground And Serial Data
Body Control Module Schematics: Instrument Panel Integration Module (IPM) - Power, Ground And Serial Data: