Curiosii for ever!: Car repair manuals for everyone.

Air Bag Control Module: Service and Repair

CAUTION: Be careful when you handle a sensing and diagnostic module (SDM). Do not strike orbit the SDM. Before applying power to the SDM:
^ Remove any dirt, grease, etc. from the mounting surface
^ Position the SDM horizontally on the mounting surface
^ Point the arrow on the SDM toward the front of the vehicle
^ Tighten all of the SDM fasteners and SDM bracket fasteners to the specified torque value

Failure to follow the correct procedure could cause air bag deployment, personal injury, or unnecessary SIR system repairs.


REMOVAL PROCEDURE




1. Disable the SIR system.
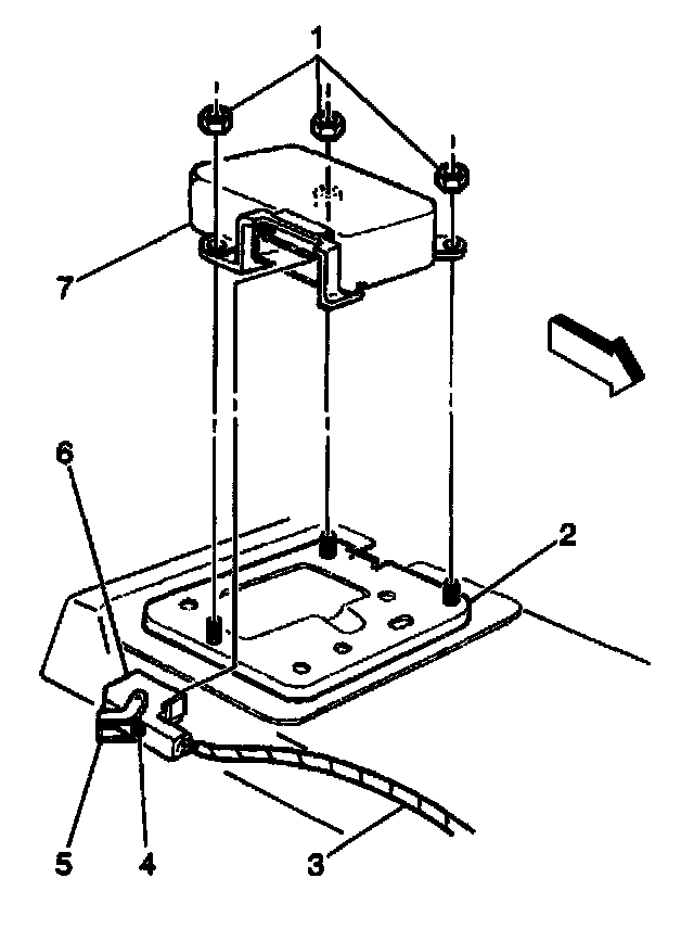
2. Remove the lower center console (1).




3. Push in the locking tab (3) and release the connector position assurance (CPA) (4) from the inflatable restraint sensing and diagnostic and seat belt pretensioner module (SDM) wiring harness connector (5).
4. Disconnect the SDM wiring harness connector (5) from the SDM (1).




5. Remove the Fasteners (1) from the SDM.
6. Remove the SDM from the Vehicle.

INSTALLATION PROCEDURE

IMPORTANT: The replacement inflatable restraint sensing and diagnostic and seat belt pretensioner module (SDM) must be programmed for use in the vehicle using a scan tool. Depending on the vehicle model year and options, the SDM may be programmed for one of the two following configurations:
- Driver & Pass - If the vehicle is equipped with frontal air bags and seat belt pretensioners.
- Driv Pass & Side - If the vehicle is equipped with frontal air bags, side air bags and seat belt pretensioners.

To program the replacement SDM, select the Programming option from the SIR menu on the scan tool. Choose the correct configuration when prompted by the scan tool. The SDM may only be programmed once. It is NOT reprogrammable





1. Install the SDM (7) to the vehicle. Ensure that the arrow on the SDM points toward the front of the vehicle.
2. Install the fasteners (2) to the SDM.

Tighten
Use only hand tools to tighten the fasteners to 10 N.m (89 lb in).




3. Install the SDM wiring harness connector (5).
4. Engage and lock the SDM connector position assurance (CPA) (4).




5. Install the lower center console.
6. Enable the SIR system. Refer to Enabling the SIR System.