Curiosii for ever!
: Car repair manuals for everyone.
Home
>>
Cadillac
>>
2000
>>
Catera V6-3.0L VIN R
>>
Repair and Diagnosis
>>
Powertrain Management
>>
Computers and Control Systems
>>
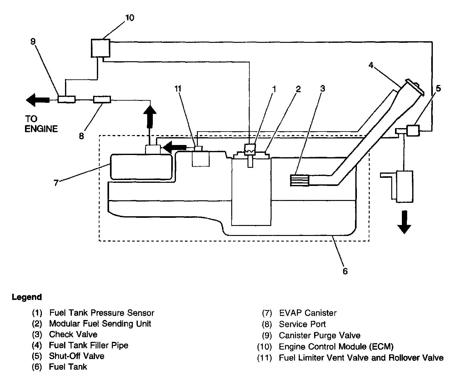
Fuel Tank Pressure Sensor
>>
Locations
Fuel Tank Pressure Sensor: Locations
Schematic: