Curiosii for ever!: Car repair manuals for everyone.

Accelerator Pedal Position Sensor: Service and Repair




REMOVAL PROCEDURE
1. Remove the hush panel from under the dashboard on the drivers side.
2. Remove the Accelerator Pedal Position (APP) sensor electrical connector.
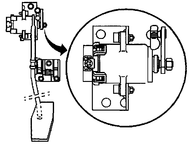
3. Remove the retainer pin from the end of the linkage at the sensor.
4. Disconnect the linkage from the lever.
5. Remove the APP mounting bolts.
6. Remove the APP sensor.

INSTALLATION PROCEDURE
1. Install the APP sensor.

NOTE: Refer to Fastener Notice in Service Precautions.

2. Install the mounting bolts.

Tighten
Tighten the APP mounting bolts to 22 N.m (16 lb ft).

3. Connect the linkage to the lever on the sensor.
4. Install the retainer pin on the linkage.
5. Connect the APP sensor electrical connector.
6. Install the hush panel.