Curiosii for ever!: Car repair manuals for everyone.

Accelerator Pedal Position Sensor: Description and Operation

The Throttle Actuator Control (TAC) system is used to improve emissions, fuel economy, and driveability. The TAC system replaces the mechanical link between the accelerator pedal and the throttle valve. The TAC systems also eliminate the Idle Air Controller (IAC) valve, and the cruise control module. These systems are now controlled by the TAC module, integrated into the ECM. The TAC system contains the following components:
^ The Accelerator Pedal Position (APP) Sensor
^ The Throttle Position (TP) Sensor
^ The throttle body assembly
^ Throttle actuator motor
^ The Engine Control Module (ECM)

Each of these components will be described briefly in the following paragraphs:

Accelerator Pedal Position (APP) Sensor

Accelerator Pedal Position (APP) Sensor:




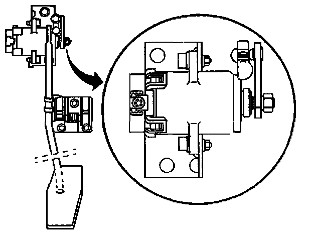
The Accelerator Pedal Position (APP) sensor is made up of 2 sensors that are housed inside one assembly. The APP sensor is located on a bracket above the accelerator pedal. The Engine Control Module (ECM) supplies a separate 5 volt reference and the ground circuit for each of the sensors. The 5 volt reference for APP sensor 1 is supplied from the same source in the ECM as the 5 volt reference for the mass air flow sensor and the fuel tank pressure sensor. The 5 volt reference for APP sensor 2 is supplied from the same source in the ECM as the 5 volt reference for the throttle position sensors. The 5 volt reference voltage for all of the sensors is supplied on separate ECM terminals, but the terminals are connected internally to the shared voltage supply. The APP sensor sends a signal from each of the sensors to the ECM indicating the acceleration demand of the driver. The ECM actuates the throttle plates based on this information. The APP sensor 1 signal voltage increases as the throttle opens, from about 0.4 volt at closed throttle to above 3.5 volts at wide open throttle. The APP sensor 2 signal voltage also increases as the throttle opens, but at a slightly different rate. The APP sensor 2 signal voltage increases from about 0.2 volt at closed throttle to about 1.8 volts at wide open throttle. The APP sensor 1 is the main control of the system. The APP sensor 2 is used for comparison of the APP sensor 1. The ECM constantly monitors these two sensors and if the sensors are not within a calibrated value, a Diagnostic Trouble Code (DTC) will set.

Throttle Body Assembly
he throttle body assembly consists of the throttle body, the TP sensors, and the throttle actuator motor. None of these components are serviced individually. They must be serviced as an assembly. The throttle body still functions the same as in the past, except that an electronic motor now opens and closes the throttle valve.

Electronic Control Module (ECM)
The TAC module is the control center for the electronic throttle system. The TAG module is located inside the ECM and is not serviceable separately. The TAG module and the ECM monitor the commanded throttle position and compare it to the actual throttle position. This is accomplished by monitoring the APP and the TP sensors. These values must be within a calibrated value of each other. The ECM module also monitors each individual circuit of the TP sensor and the APP to verify proper operation.

Idle Learn Procedure
Whenever the throttle body assembly or the ECM is replaced, you must perform the idle learn procedure. To perform this procedure, turn ON the ignition while leaving the engine OFF for 30 seconds. Key down, then restart the vehicle, and the normal idle should return.

Vehicle Speed Signal Circuit
The left rear wheel speed sensor provides a signal to the Electronic Brake and Traction Control Module (EBTCM). In addition to wheel speed information, the signal from the left rear wheel speed sensor provides the only input for vehicle speed information. The EBTCM sends out a vehicle speed signal based on the information from this sensor. The vehicle speed signal is sent to the theft deterrent module and to all other modules requiring vehicle speed information. The vehicle speed signal to the theft deterrent module is then sent to the engine control module on the same circuit used to communicate the theft deterrent information.