Curiosii for ever!
: Car repair manuals for everyone.
Home
>>
Cadillac
>>
1999
>>
DeVille V8-4.6L VIN Y
>>
Repair and Diagnosis
>>
Specifications
>>
Mechanical Specifications
>>
Engine
>>
System Specifications
>>
Thread Repair Specifications
>>
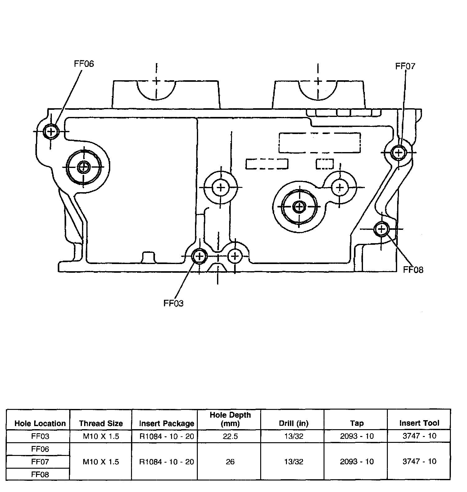
Front Face of Cylinder Head
Front Face of Cylinder Head