Curiosii for ever!: Car repair manuals for everyone.

Scan Tool Testing and Procedures









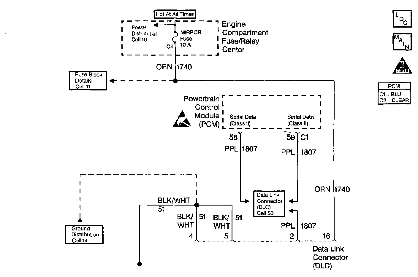
Circuit Description

The Data Link Connector check is used to identify the cause of an inoperative scan tool. Possible faults include scan tool non-power up and lack of communication between the scan tool and the PCM. The DLC supplies power to the scan tool through CKT 1740 to terminal 16. The ground to the scan tool is supplied through CKT 51 to terminal 5. The serial data (communication) is supplied to the scan tool through CKT 1807 to terminal 2.

Diagnostic Aids

Perform the Diagnostic System Check before using this diagnostic procedure to help prevent miss-diagnosis. Initial Inspection and Diagnostic Overview

Test Description

Number(s) below refer to the step number(s) on the Diagnostic Table.

3. Checking the voltage and ground supply to the scan tool.
4. Checking if the fault is power or ground circuit related.
5. Terminal 4 of the DLC connector is the ground circuit for scan tool data communications and terminal 5 is the power ground circuit for the scan tool.
7. If communication is present between the scan tool and PCM then the fault is not present or was poor terminal contact at the DLC connector.
8. Checking if the fault is vehicle or scan tool related.
9. On analog dash vehicles press and hold the OFF and passenger warmer temperature buttons simultaneously. On digital dash vehicles press and hold the OFF and warmer temperature buttons simultaneously.
If On-Boards do not function there may be a short to ground on CKT 1807 anywhere on the circuit or one of the control modules connected to Class 2 may be faulty.
11. Due to the multiple connections to serial data, if no DTCs are present the fault should be between the DLC and the splice.