Curiosii for ever!: Car repair manuals for everyone.

Installation Procedure









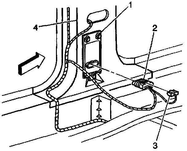
1. Install the SISM (1) to the center pillar sheetmetal (5).

Notice: Refer to Fastener Notice in Cautions and Notices. Fastener Precautions

2. Install the SISM mounting fasteners (1).

Tighten
Tighten fasteners to 9 N.m (80 lb in).

3. Install the SISM harness connector (2) to the SISM (1).
4. Install the Connector Position Assurance (CPA) (3) to the SISM harness (2) connector.
5. Install the center pillar trim. Refer to Garnish Module Replacement - Center Pillar in Interior Trim.
6. Enable the SIR system. Refer to Enabling the SIR System. Enabling the SIR System