Installation Procedure
Description:
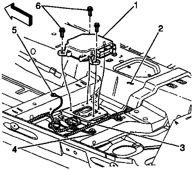
1. Install the SDM (1) to the floor sheetmetal (2).
NOTICE: Refer to Fastener Notice in Vehicle Damage Warnings.
2. Install the SDM mounting fasteners (6).
Tighten
Tighten fasteners to 9 N.m (80 lb.in).
Description:
3. Install the SDM harness connector (3) to the SDM (1).
Description:
4. Install the Connector Position Assurance (CPA) (4) to the SDM harness (3) connector.
5. Install the sill plate (RH).
6. Install the driver seat.
7. Enable the frontal SIR system. Refer to Enabling the SIR System.