Curiosii for ever!
: Car repair manuals for everyone.
Home
>>
Cadillac
>>
1998
>>
Eldorado V8-4.6L VIN Y
>>
Repair and Diagnosis
>>
Powertrain Management
>>
Computers and Control Systems
>>
Relays and Modules - Computers and Control Systems
>>
Body Control Module
>>
Diagrams
>>
Electrical Diagrams
>>
Body Control Module (PZM) Inputs and Outputs
Body Control Module (PZM) Inputs and Outputs
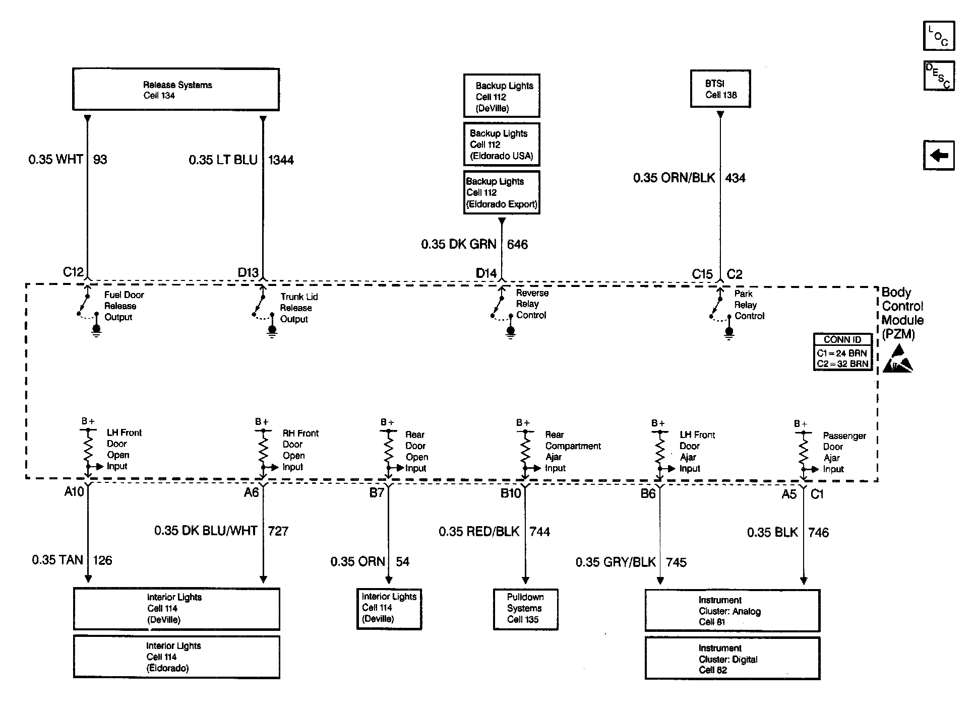
Body Control Module Schematics: Body Control Module (PZM), Inputs And Outputs (Part 1 Of 2):
Body Control Module Schematics: Body Control Module (PZM), Inputs And Outputs (Part 2 Of 2):