Curiosii for ever!: Car repair manuals for everyone.

Grid Line Repair

REPAIR PROCEDURE

Grid Line Repair: Repair Procedure:




Tools Required
^ Rear Window Defogger Repair Kit GM P/N 12346001, or equivalent.
^ Heat Gun

CAUTION: To avoid personal injury:
^ Do not allow the repair material to come in contact with your skin or eyes and avoid breathing the vapors.
^ Do not use near sparks or open flame


1. Remove the rear window defogger fuse.
2. Prep the area to be repaired:
^ Buff the grid line to about 6.0 mm (0.25 in) beyond each side of the break with fine steel wool.
^ Wipe the area clean using a cloth dampened with alcohol.
3. Install a grid line repair decal, or install two strips of tape one positioned above and one below the repair area
^ A repair decal, or tape strips (2), must be used to control width of repair.
^ If a decal is used, be sure the die-cut metering slot is the same width as the grid line.
^ If tape strips are used space them the width of the grid line apart.
4. Mix the grid line repair material per manufacturers instructions or until a uniform silver colour appears.
5. Insure that the window is at room temperature, 22°C (72°F).
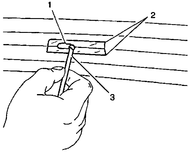
6. Apply the grid repair material (1) to the repair area using a small plastic paddle (3) (or equivalent).
7. Remove the decal or tape.

Grid Line Repair: Repair Procedure:




IMPORTANT: Protect Trim From Heat Damage.

8. Using a heat gun apply heat to the repair area.
^ Hold the heat gun nozzle 25 mm (1 in) from the repair surface.
^ Use a minimum temperature of 50°C (200°F).
^ Apply heat for 2 to 3 minutes.
9. Replace the rear defogger fuse.
10. Test the defogger operation to verify the grid line is repaired.
11. Inspect the grid line repair for appearance.
11.1. Apply tincture of iodine to the grid line using a pipe cleaner or a fine brush if the grid line appears discolored.
11.2. Allow the iodine to dry for at least 30 seconds.
11.3. Wipe off any excess iodine using a lint free cloth.
12. Allow the repair area to cure undisturbed for at least 24 hours.