Curiosii for ever!: Car repair manuals for everyone.

Splicing Copper Wire Using Crimp and Seal Splice Sleeves

Crimp And Seal Splice Chart:




Crimp and seal splice sleeves may be used on all types of insulation except tefzel and coaxial to form a one-to-one splice. They are to be used where there are special requirements such as moisture sealing. Follow the instructions below in order to splice copper wire using crimp and seal splice sleeves.
1. Open the harness.
^ If the harness is taped, remove the tape.
^ To avoid wiring insulation damage, use a sewing ripper in order to cut open the harness.
^ If the harness has a black plastic conduit, pull out the desired wire.
2. Cut the wire.
^ Cut as little wire off the harness as possible.
^ Ensure that each splice is at least 40 mm (1.5 in) away from other splices, harness branches, and connectors. This will help prevent moisture from bridging adjacent splices and causing damage.
3. Strip the insulation.
^ Find the correct wire size.
^ Select the correct size opening in the wire stripper or work down from the largest size.
^ Strip approximately 7.5 mm (5/16 in) of insulation from each wire to be spliced.

Splicing Copper Wire Using Crimp And Seal Splice Sleeves:




4. Select the proper splice sleeve according to the wire size.

Splicing Copper Wire Using Crimp And Seal Splice Sleeves:




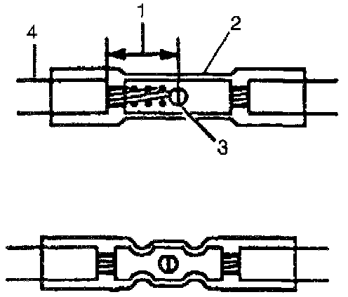
5. Insert the wires into the splice sleeve and crimp.
^ Place the splice tool in the nest so that the crimp falls at point 1 on the splice. The sleeve has a stop in the middle of the barrel in order to prevent the wire from going farther.
^ Close the hand crimper handles slightly in order to hold the splice sleeve firmly in the proper nest.
^ Insert the wire into the splice until it hits the barrel stop.
^ Close the handles of the J 38125 until the crimper handles open when released. The crimper handles will not reopen until the proper amount of pressure is applied to the splice sleeve.
6. Shrink the insulation around the splice.
^ Use a torch in order to apply heat where the barrel is crimped.
^ Gradually move the heat barrel to the open end of the tubing, shrinking the tubing as the heat is moved along the insulation. A small amount of sealant will come out of the end of the tubing when sufficient shrinkage is achieved.





.