Curiosii for ever!: Car repair manuals for everyone.

Cruise Control Switch: Service and Repair

REMOVAL PROCEDURE



1. Remove the LH sound insulator.
2. Remove the LH front floor air outlet duct.
3. Press the brake lever.
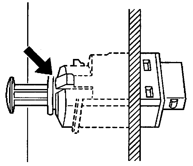
4. Press the switch lugs while removing the switch from the rear of the brake pedal bracket.
5. Disconnect the switch harness connector.

INSTALLATION PROCEDURE



1. Pull about 2/3 - inch on the locking sleeve (2) in order to fully extend the actuating pin (1).
2. Connect the switch connector.
3. Apply the brake pedal while installing the switch into the brake pedal bracket.




4. Fully seat the switch into the bracket until the locking lugs snap into place.




IMPORTANT: The switch adjusting pin self-adjusts when the brake pedal is returned to the non-applied position during the next step.

5. Pull up on the brake pedal (1).
6. Press the locking sleeve (2) into the switch.
7. Install the LH front floor air outlet duct.
8. Install the LH sound insulator.
9. Verify the cruise control system operation.