Splicing Copper Wire Using Splice Clips
TOOLS REQUIREDJ 38125 Terminal Repair Kit
1. Open the harness.
^ If the harness is taped, remove the tape.
^ To avoid wiring insulation damage, use a sewing ripper in order to cut open the harness.
^ If the harness has a black plastic conduit, pull out the desired wire.
2. Cut the wire.
^ Cut as little wire off the harness as possible.
^ Ensure that each splice is at least 40 mm (1.5 in) away from other splices, harness branches, and connectors. This will help prevent moisture from bridging adjacent splices and causing damage.
Splicing Copper Wire Using Splice Clips:
3. Strip the insulation.
^ Use wire of equal or greater size than the original. The wire's insulation must have the same or higher temperature rating.
^ You may use general purpose insulation for areas that are not subject to high temperatures.
^ Use a cross-linked polyethylene insulated wire for areas where high temperatures are expected.
^ Cross-linked polyethylene wire may be used to replace PVC, but you may not replace cross-linked polyethylene with PVC.
^ Cross-linked polyethylene wire is not fuel resistant and should not be used to replace wire where there is the possibility of fuel contact.
^ Select the correct size opening in the wire stripper or work down from the largest size.
Splicing Copper Wire Using Splice Clips:
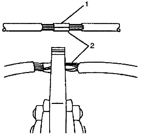
4. Crimp the wires.
^ Select the proper clip to secure the splice. Follow the instructions in the J 38125 Kit in order to determine the proper clip size crimp tool and anvil.
^ Overlap the two stripped wire ends and hold them between your thumb and forefinger.
^ Center the splice clip under the stripped wires and hold it in place.
Splicing Copper Wire Using Splice Clips:
5. Apply steady pressure until the crimp tool closes.
^ Ensure that the wires extend beyond the clip in each direction.
^ Ensure that no strands of wire are cut loose.
^ Ensure that no insulation is caught under the clip.
Splicing Copper Wire Using Splice Clips:
6. Crimp the splice on each end.
Splicing Copper Wire Using Splice Clips:
7. Apply 60/40 rosin core solder to the opening in the back of the clip. Follow the manufacturer's instructions for the solder equipment.
8. Tape the splice. Roll on enough tape in order to duplicate the thickness of the insulation on the existing wires.
Splicing Copper Wire Using Splice Clips:
9. You may tape the wire again if the wire does not belong in a conduit or another harness covering. Use a winding motion in order to cover the first piece of tape.