Curiosii for ever!: Car repair manuals for everyone.

Expansion Block/Orifice Tube: Description and Operation


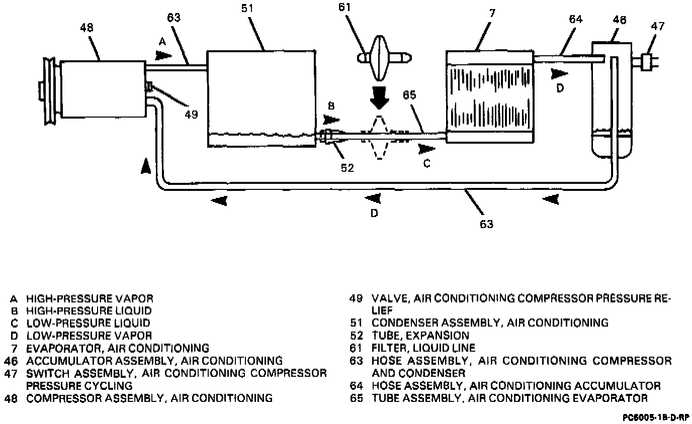
Cycling Clutch Orifice Tube System (CCOT):




Orifice Tube:






DESCRIPTION
The Cycling Clutch Orifice Tube (CCOT) refrigeration system is designed to cycle a compressor on and off to maintain desired cooling and to prevent evaporator freeze-up.

The expansion (orifice) tube (52) provides resistance to the high pressure liquid, thereby controlling the flow of refrigerant to the evaporator and allowing it to enter the evaporator as a low pressure liquid. There is also a fine mesh screen located at the expansion tube inlet, which acts as a strainer for refrigerant flowing through it.

An extended plastic screen downstream of the orifice tube serves to reduce the flow noise associated with the pressure equalization when the system is shut off.

The expansion tube cannot be adjusted or repaired and must be replaced as a unit. After passing through the expansion tube, the low pressure refrigerant enters the evaporator.