Curiosii for ever!
: Car repair manuals for everyone.
Home
>>
Cadillac
>>
1984
>>
Seville V8-252 4.1L
>>
Repair and Diagnosis
>>
Powertrain Management
>>
Ignition System
>>
Ignition Timing
>>
Timing Marks and Indicators
>>
Locations
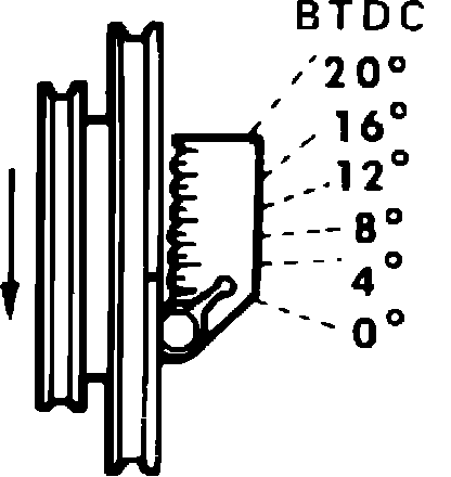
Timing Marks and Indicators: Locations
Timing Mark - 4.1L (250), 4.5L (273):