Curiosii for ever!: Car repair manuals for everyone.

Air Injection: Testing and Inspection

Fig. 094 Chart C-6 Pulsair Control:




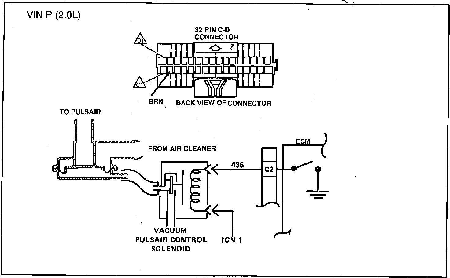
Fig. 095 - Wiring Diagram for Chart C-6 Pulsair Control. VIN P:





CHART C-6, PULSAIR SOLENOID

1. Confirms that solenoid is energized and PULSAIR is working. Pulsair with manual transmission may not shut off after the 20 second time period. The next test step confirms ECM has control by shutting off PULSAIR when the "SERVICE ENGINE SOON" light comes on.
2. Checks for ECM control of solenoid.
3. Check solenoid control of vacuum.
4. Checks PULSAIR control valve and PULSAIR unit.
5. Solenoids are turned "ON" or "OFF" by the ECM internal electronic switches called "drivers". Each driver is a part of a group of four called "Quad-Drivers". Failure of one can damage any other driver within the set.
Solenoid coil resistance must measure more than 20 ohms. Less resistance will cause early failure of the ECM "DRIVER". Using an ohmmeter, check the solenoid coil resistance of the following before installing a replacement ECM.
- [1][2]Torque converter clutch