Curiosii for ever!
: Car repair manuals for everyone.
Home
>>
Cadillac Truck
>>
2007
>>
SRX AWD V8-4.6L
>>
Repair and Diagnosis
>>
Relays and Modules
>>
Relays and Modules - Powertrain Management
>>
Relays and Modules - Computers and Control Systems
>>
Engine Control Module
>>
Diagrams
>>
Connector Views
Connector Views
Engine Control Module
Connector End Views
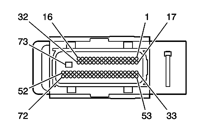
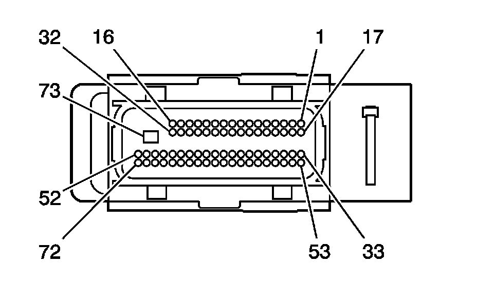
Engine Control Module (ECM) C1
Engine Control Module (ECM) C2
Engine Control Module (ECM) C2 (Pin 1 To 46):
Engine Control Module (ECM) C2 (Pin 47 To 73):
Engine Control Module (ECM) C3