Curiosii for ever!
: Car repair manuals for everyone.
Home
>>
Cadillac Truck
>>
2007
>>
SRX AWD V8-4.6L
>>
Repair and Diagnosis
>>
Diagrams
>>
Connector Views
>>
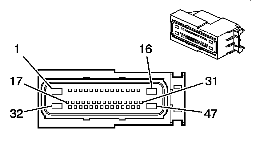
Suspension Control Module
Suspension Control Module
Electronic Suspension Control Connector End Views
Electronic Suspension Control (ESC) Module:
Electronic Suspension Control (ESC) Module (F55):