Curiosii for ever!
: Car repair manuals for everyone.
Home
>>
Cadillac Truck
>>
2007
>>
Escalade AWD V8-6.2L
>>
Repair and Diagnosis
>>
Heating and Air Conditioning
>>
Control Assembly
>>
Service and Repair
>>
HVAC System - Automatic
>>
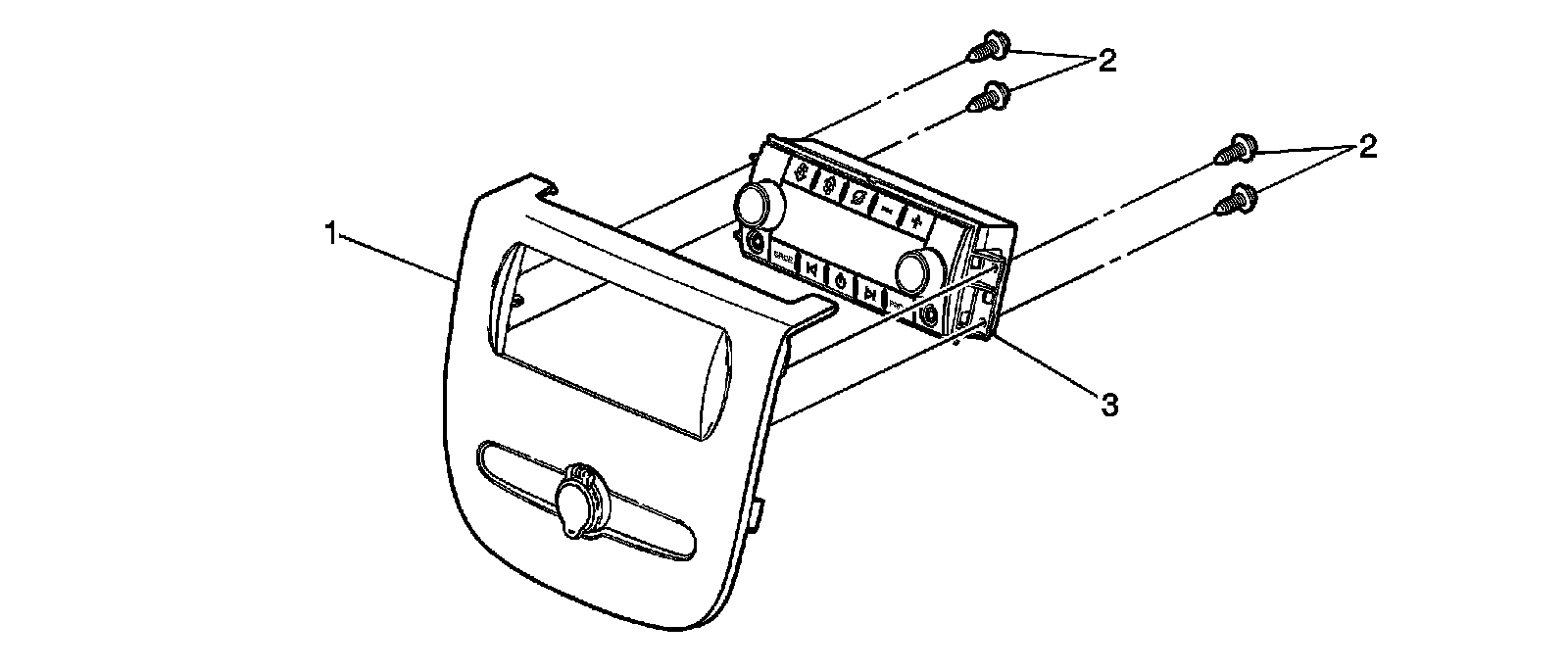
Auxiliary Heater and Air Conditioning Control Module Replacement
Auxiliary Heater and Air Conditioning Control Module Replacement
AUXILIARY HEATER AND AIR CONDITIONING CONTROL MODULE REPLACEMENT