Curiosii for ever!: Car repair manuals for everyone.

Valve Spring: Service and Repair




Valve Stem Oil Seal and Valve Spring Replacement

Special Tools

* EN-840 - Pliers/Remover

* EN-6086 - Basic Kit, Spring and Wedge Replacer

* EN-6152 - Valve Stem Oil Seal Installer

For equivalent regional tools, refer to Special Tools (LDK, LHU) Tools and Equipment.

Removal Procedure

1. Remove the hydraulic valve lash adjusters. Refer to Hydraulic Valve Lash Adjuster Replacement Service and Repair.

2. Remove the spark plugs. Refer to Spark Plug Replacement Service and Repair.




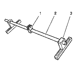
3. Tighten one of the support head (1) in the center of the rail (2) with the bolt (3).




4. Install the EN-6086-5 - mounting shaft (1) to one of the EN-6086-6 - support (2).




5. Install the EN-6086-8 - knuckle (1) to the EN-6086-5 - mounting shaft (2).

6. Install the second EN-6086-6 - support (3) to the EN-6086-5 - mounting shaft (2).




7. Install the lever arm bracket (1) to the cylinder head (2).

* Install the fixed side of the lever arm bracket on the left side of the cylinder head but do not tighten yet.

* Install the unfixed side of the lever arm bracket on the right side of the cylinder head but do not tighten yet.




8. Fix the EN-6086-5 - mounting shaft (1) with both support head bolts (2).




9. Align the lever arm bracket (1) in the center of the cylinder head on the basis of the spark plug drillings (2).

10. Tighten both EN-6086-6 - supports to the cylinder head.




11. Fix the second support head (1) to the rail (2).

12. Set the crankshaft to TDC of the first cylinder.

13. Lower the vehicle.

Note: All wheels must be in contact with the ground.

14. Block the crankshaft.

1. Engage the 6th gear

2. Tighten the park brake




15. Install the EN-6086-15 - adapter (1) to the spark plug drill (2) of the first cylinder.

16. Apply compressed air to the first cylinder.




17. Install the EN-6086-12 - adapter part small (1) to the EN-6086-11 - removal part small (2).




18. Install the EN-6086-12 - adapter part small and the EN-6086-11 - removal part small to position 3 to the EN-6086-7 - lever arm. Tighten the tools with EN-6086-2 - pin.

19. lnstall the EN-6086-7 - lever arm to the EN-6086-8 - knuckle.

* Use the position 1 of the lever arm.

* Tighten the tools with EN-6086-2 - pin.





Note: Note the installation construction units position of the valve stem keys, valve spring retainer and valve spring.

20. Set the EN-6086-11 - removal part small (1) on the intake valve spring retainer (2) on the left side of the first cylinder.




21. To remove the valve stem key (1), valve spring retainer (2) and valve spring (3) press the lever arm downward.

Note: Do not use magnetic tools.

22. If the valve stem key are fallen out, remove the valve stem keys with EN-6086-13 - round awl and EN-6086-14 - special caliper.

23. Set the EN-6086-11 - removal part small on that intake valve spring retainer on the right side to the first cylinder.

24. To remove from the valve stem keys, valve spring retainer and valve spring press the lever arm downward.

Note: Do not use magnetic tools.

25. If the valve stem key are loosen, remove the valve stem keys with EN-6086-13 - round awl and EN-6086-14 - special caliper.




26. Remove both valve stem oil seal rings with EN-840 - valve stem oil seal remover (1) from the cylinder head intake side.




27. Install the EN-6086-12 - adapter part small and the EN-6086-11 - removal part small to the position 1 to the EN-6086-7 - lever arm. Tighten those tools with EN-6086-2 - pin.

28. Install the EN-6086-7 - lever arm to EN-6086-8 - knuckle.

* Use the position 3 to the lever arm.

* Tighten the tools with EN-6086-2 - pin.

Note: Note the position of the valve stem keys, valve spring retainer and valve spring.

29. Set the EN-6086-11 - removal part small on that exhaust valve spring retainer on the left side at the first cylinder.

30. To remove the valve stem key, valve spring retainer and valve spring press the lever arm upward.

Note: Do not use magnetic tools.

31. If the valve stem key are loosen, remove the valve stem keys with EN-6086-13 - round awl and EN-6086-14 - special caliper.

32. Set the EN-6086-11 - removal part small on that exhaust valve spring retainer on the right side to the first cylinder.

33. To remove the valve stem keys, valve spring retainer and valve spring press the lever arm upward.

Note: Do not use magnetic tools.

34. If the valve stem key are loosen, remove the valve stem keys with EN-6086-13 - round awl and EN-6086-14 - special caliper.




35. Remove both valve stem oil seal rings with EN-840 - valve stem oil seal remover (1) from the cylinder head exhaust side.





Note: Do not press the valve downward.

36. Install with EN-6152 - valve stem oil seal installer (1) the new valve stem oil seal rings to the cylinder head.

* Coat the valve stems with engine oil

* Connect the valve stem seals onto the valve stem.

* Using the EN-6152 - installer, drive to limit stop.




37. Install EN-6086-100-15 - adapter 6 (3) to EN-6086-100-10 - mounting part (4).

* Remove the fastener (1) from the mounting part (4).

* Remove the spring (2) from the mounting part (4).

* Install the pressure adapter 6 (3) into the mounting part (4).

* Install the spring (2) into the mounting part (4).

* Install the fastener (1) to the mounting part (4).





Note: Only one attempt. If the attempt failed, repeat step 3 to 8 for the exhaust left side and step 9 to 13 for the exhaust right side.

38. Install the valve stem keys (1) to the EN-6086-100-10 - mounting part (2).

1. Pull the ring back that the springs are loosen.

2. Install the valve stem keys with the narrow side upward.

3. Pull the ring forward till the springs are the valve stem keys locking.

39. Install the EN-6086-100-10 - mounting part to the EN-6086-12 - adapter part.

40. Install both parts to the EN-6086-7 - lever arm.

41. Install the left exhaust valve spring and the left exhaust valve retainer to the cylinder head.

42. Set the EN-6086-100-15 - pressure adapter to the left exhaust valve.

43. Press the lever arm up to audibly engage the left valve stem keys.

44. Install the valve stem keys to the EN-6086-100-10 - mounting part.

1. Pull the ring back that the springs are loosen.

2. Install the valve stem keys with the narrow side upward.

3. Pull the ring forward till the springs are the valve stem keys locking.

45. Install the EN-6086-100-10 - mounting part to the EN-6086-12 - adapter part.

46. Install both parts to the EN-6086-7 - lever arm.

47. Install the right exhaust valve spring and the right exhaust valve retainer to the cylinder head.

48. Set the EN-6086-100-15 - pressure adapter to the right exhaust valve.

49. Press the lever arm up to audibly engage the right valve stem keys.

50. Remove the EN-6086-7 - lever arm from the EN-6086-8 - knuckle.




51. lnstall the EN-6086-7 - lever arm (1) to the EN-6086-8 - knuckle (2).

1. Use the position 1 from the lever arm.

2. Tighten those tools with EN-6086-2 - pin.

Note: Do not press the valve downward.

52. Install with EN-6152 - valve stem oil seal installer the new valve stem oil seal rings to the cylinder head.

1. Press the valve stem oil seal ring with the finger downward.

2. The EN-6152 - valve stem oil seal installer must rest upon at the lower edge of the valve stem oil seal ring.

3. Knock with a rubber hammer on the EN-6152 - valve stem oil seal installer tool to sit the valve stem oil seal ring to the cylinder head.

Note: Only one attempt. If the attempt failed, repeat step 18 to 23 for the intake left side and step 24 to 29 for the intake right side.

53. Install the valve stem keys to the EN-6086-100-10 - mounting part.

1. Pull the ring back that the springs are loosen.

2. Install the valve stem keys with the narrow side upward.

3. Pull the ring forward till the springs are the valve stem keys locking.

54. Install the EN-6086-100-10 - mounting part to the EN-6086-12 - adapter part.

55. Install both parts to the EN-6086-7 - lever arm.

56. Install the left intake valve spring and the left intake valve retainer to the cylinder head.

57. Set the EN-6086-100-15 - pressure adapter to the left intake valve.

58. Press the lever arm down to audibly engage the left valve stem keys.

59. Install the valve stem keys (1) to the EN-6086-100-10 - mounting part (2).

1. Pull the ring back that the springs are loosen.

2. Install the valve stem keys with the narrow side upward.

3. Pull the ring forward till the springs are the valve stem keys locking.

60. Install the EN-6086-100-10 - mounting part to the EN-6086-12 - adapter part.

61. Install both parts to the EN-6086-7 - lever arm.

62. Install the right intake valve spring and the right intake valve retainer to the cylinder head.

63. Set the EN-6086-100-15 - pressure adapter to the right intake valve.

64. Press the lever arm down to audibly engage the right valve stem keys.

65. Remove the EN-6086-7 - lever arm from the EN-6086-8 - knuckle.




66. Transfer the EN-6086-15 - pneumatic adapter (1).

1. Interrupt the compressed air feed.

2. Remove the adapter from cylinder number 1.

3. Install the adapter to cylinder number 4.

4. Apply compressed air to cylinder number 4.

67. Replace the valve stem seal of cylinder 4 by analogy with step 17 - 65.

68. Remove the EN-6086-15 - pneumatic adapter.

1. Interrupt the compressed air feed.

2. Remove the adapter from cylinder number 4.

69. Unblock the crankshaft.
Disengage the 6th gear

Note: A second mechanic must hold the primary timing chain upward.

70. To replace the valve stem oil seals of the cylinders 2 and 3 turn the crankshaft by 180 degrees to TDC of cylinder 3.

* Set 2 marks, by 180 degrees transferred, at the oil pump housing.

* Set 1 mark at the crankshaft balancer.

* Turn the timing chain clockwise 180 degrees.

71. Replace the valve stem seal of cylinder 2 and 3 by analogy with step 14 - 68.




72. Remove the EN-6086 - tool (1) from the cylinder head (2).

Installation Procedure

1. Unblock the crankshaft.

1. Disengage the 6th gear

2. Loosen the park brake.

Note: A second mechanic must hold the primary timing chain upward.

2. Rotate the crankshaft to TDC of first cylinder.

3. Install the spark plugs. Refer to Spark Plug Replacement Service and Repair.

4. Install the hydraulic valve lash adjusters. Refer to Hydraulic Valve Lash Adjuster Replacement Service and Repair.