Curiosii for ever!: Car repair manuals for everyone.

Steering Wheel Inflatable Restraint Module Replacement




Steering Wheel Inflatable Restraint Module Replacement

Removal Procedure

Warning:
Refer to SIR Inflator Module Handling and Storage Warning SIR Inflator Module Handling and Storage Warning.


Warning:
Refer to SIR Warning SIR Warning.


1. Disable the supplemental inflatable restraint (SIR) system. Refer to SIR Disabling and Enabling Service and Repair.





Note:
Produce a special tool for airbag removal, the tool can be reused.

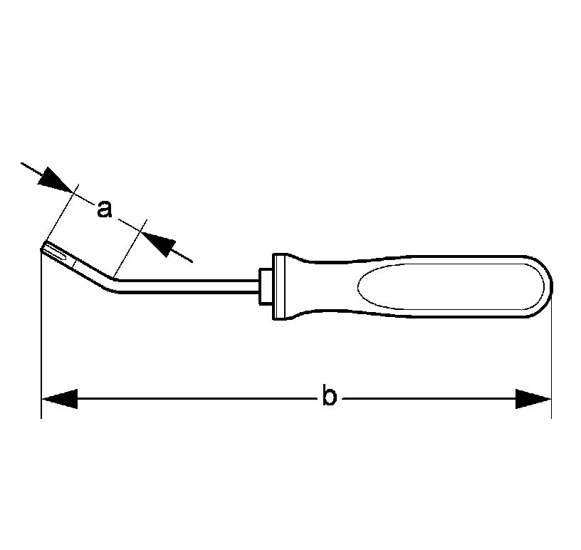
2. Use a screwdriver or equivalent tool with total length of (b) 180 mm (7.1 in) and a diameter of 3-4 mm (0.1-0.15 in). Bend the tip (a) at 30 mm (1.2 in) by approx. 30 degrees.

3. Lower the steering column and move to the maximum rear end position.

4. Turn the steering wheel to a 3 o'clock and 9 o'clock position so that the holes are at the top.





5. Insert the screw driver (1) through both access openings and push the spring fastener (2) inward to release the steering wheel inflator from the steering wheel.





6. Open secondary locking (2).

7. Disconnect the electrical connectors (1).

8. Remove the steering wheel inflatable restraint module (2).

Installation Procedure





1. Connect the electrical connectors (1).

2. Close secondary locking.

3. Align the inflatable restraint module fasteners to the steering wheel spring fastener (3).

4. Push the inflatable restraint module (2) firmly into the steering wheel in order to engage the spring fastener (3).

5. Enable the SIR system. Refer to SIR Disabling and Enabling Service and Repair.

6. Fully deploy the module before disposal. If the module was replaced under warranty, fully deploy and dispose of the module after the required retention period. Refer to Inflatable Restraint Module Handling and Scrapping Procedures.