Curiosii for ever!
: Car repair manuals for everyone.
Home
>>
Buick
>>
2012
>>
Regal L4-2.4L
>>
Repair and Diagnosis
>>
Wiper and Washer Systems
>>
Wiper Arm
>>
Service and Repair
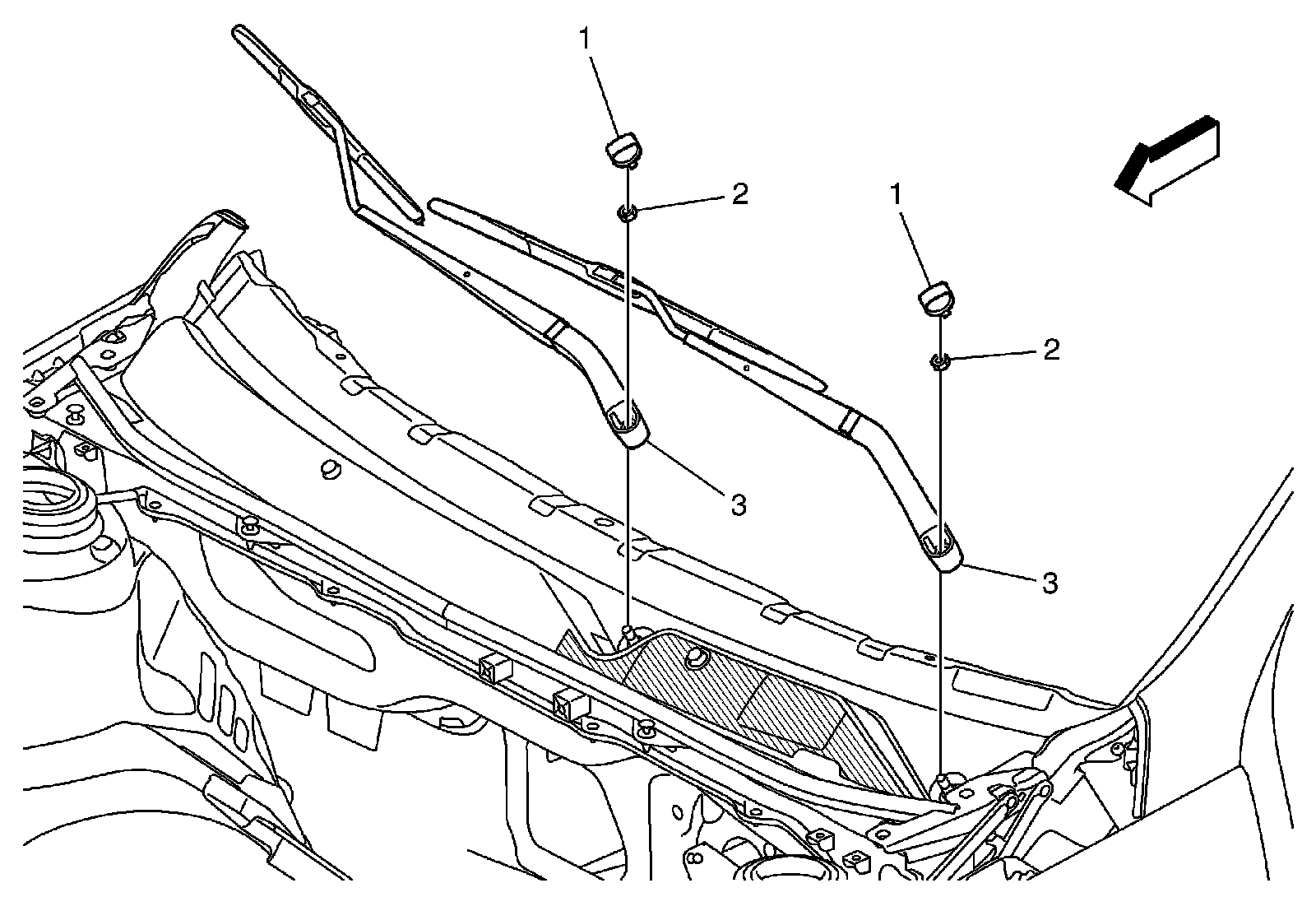
Wiper Arm: Service and Repair
Windshield Wiper Arm Replacement