Curiosii for ever!: Car repair manuals for everyone.

Variable Valve Timing Actuator: Description and Operation




Camshaft Actuator System Description

Camshaft Actuator System Overview




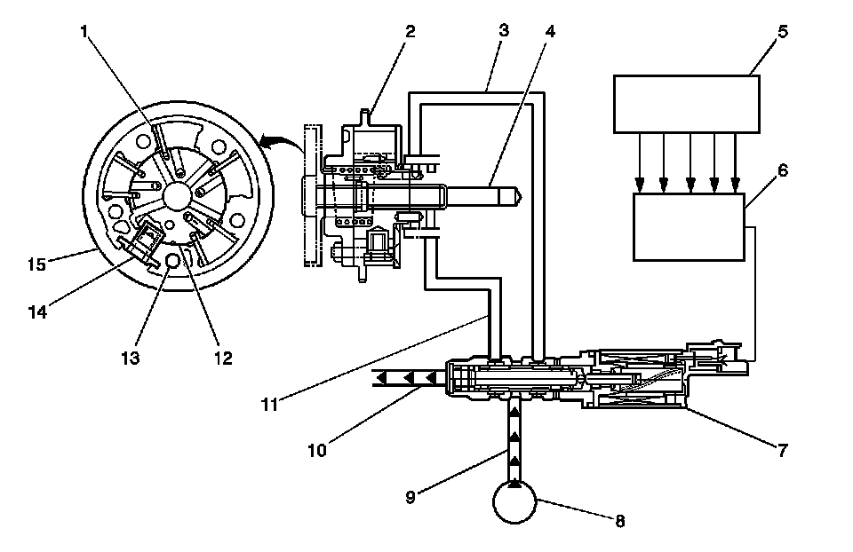
1 - Camshaft Actuator Vane
2 - Timing Chain Sprocket
3 - Engine Oil Pressure-For retarding the camshaft
4 - Camshaft
5 - Input Signals from Engine Sensors
6 - Engine Control Module (ECM)
7 - Camshaft Actuator Solenoid
8 - Engine Oil Pump
9 - Engine Oil Pressure Supply
10 - Engine Oil Drain
11 - Engine Oil Pressure-For advancing the camshaft
12 - Camshaft Actuator Rotor
13 - Camshaft Position Sensor Reluctor
14 - Camshaft Actuator Lock Pin
15 - Camshaft Actuator Housing

The camshaft actuator system enables the engine control module (ECM) to change camshaft timing of all 4 camshafts while the engine is operating. The CMP actuator assembly (15) varies the camshaft position in response to directional changes in oil pressure. The CMP actuator solenoid valve controls the oil pressure that is applied to advance or retard a camshaft. Modifying camshaft timing under changing engine demand provides better balance between the following performance concerns:

* Engine power output
* Fuel economy
* Lower tailpipe emissions

The CMP actuator solenoid valve (7) is controlled by the ECM. The crankshaft position (CKP) sensor and the CMP sensors are used to monitor changes in camshaft positions. The ECM uses the following information in order to calculate the desired camshaft positions:

* The engine coolant temperature (ECT) sensor
* The calculated engine oil temperature (EOT)
* The mass air flow (MAF) sensor
* The throttle position (TP) sensor
* The vehicle speed sensor (VSS)
* The volumetric efficiency

Operation

The CMP actuator assembly has an outer housing that is driven by an engine timing chain. Inside the assembly is a rotor with fixed vanes that is attached to the camshaft. Oil pressure that is applied to the fixed vanes will rotate a specific camshaft in relationship to the crankshaft. The movement of the intake camshafts will advance the intake valve timing. The movement of the exhaust camshafts will retard the exhaust valve timing. When oil pressure is applied to the return side of the vanes, the camshafts will return to 0 crankshaft degrees, or top dead center (TDC). The CMP actuator solenoid valve directs the oil flow that controls the camshaft movement. The ECM commands the CMP solenoid to move the solenoid plunger and spool valve until oil flows from the advance passage (11). Oil flowing thru the CMP actuator assembly from the CMP solenoid advance passage applies pressure to the advance side of the vanes in the CMP actuator assembly. When the camshaft position is retarded, the CMP actuator solenoid valve directs oil to flow into the CMP actuator assembly from the retard passage (3). The ECM can also command the CMP actuator solenoid valve to stop oil flow from both passages in order to hold the current camshaft position.

The ECM operates the CMP actuator solenoid valve by pulse width modulation (PWM) of the solenoid coil. The higher the PWM duty cycle, the larger the change in camshaft timing. The CMP actuator assembly also contains a lock pin (14) that prevents movement between the outer housing and the rotor vane assembly. The lock pin is released by oil pressure before any movement in the CMP actuator assembly takes place. The ECM is continuously comparing CMP sensor inputs with CKP sensor input in order to monitor camshaft position and detect any system malfunctions. If a condition exists in either the intake or exhaust camshaft actuator system, the opposite bank, intake or exhaust, camshaft actuator will default to 0 crankshaft degrees.