Curiosii for ever!: Car repair manuals for everyone.

Antenna Control Module: Service and Repair




Television Antenna Module Replacement

Removal Procedure

1. Remove the passenger side quarter trim panel. Refer to Quarter Upper Trim Panel Replacement (Quarter Upper Trim Panel Replacement).




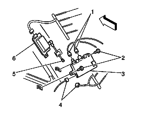
2. Disconnect the electrical wiring and coaxial cables (1, 4, 5) from the TV antenna module (3).
3. Remove the TV antenna module fasteners (2).
4. Remove the TV antenna module (3) from the vehicle.

Installation Procedure





Caution: Refer to Fastener Caution (Fastener Caution).

1. Install the TV antenna module (3) and fasteners (2).

Tighten the TV antenna module (3) fasteners (2) to 9 Nm (80 lb in).

2. Connect the electrical wiring and coaxial cables (1, 4, 5) to the TV antenna module (3).
3. Install the passenger side quarter trim panel. Refer to Quarter Upper Trim Panel Replacement (Quarter Upper Trim Panel Replacement).