Curiosii for ever!: Car repair manuals for everyone.

Installation




Engine Replacement

Installation Procedure




1. Install a engine lifting devise to the engine.
2. Remove the engine from the engine stand.
3. Install the flywheel. Refer to Engine Flywheel Installation (Automatic Transmission) (100. Engine Flywheel Installation (Automatic Transmission))Engine Flywheel Installation (Manual Transmission) (101. Engine Flywheel Installation (Manual Transmission)).
4. Install the engine to the vehicle.

Caution: Refer to Fastener Caution (Fastener Caution).

5. Install the transaxle-to-engine bolts/studs.

Tighten the bolts/stud to 75 Nm (55 lb ft).




6. Remove the engine lifting device from the engine.
7. Position and install the power steering pump bolts. Refer to Power Steering Pump Replacement (L37) (Power Steering Pump Replacement)Power Steering Pump Replacement (LZ9/LGD) (Power Steering Pump Replacement).




8. Install the radiator inlet hose to the engine.
9. Position the radiator inlet hose clamp at the engine.




10. Connect the EVAP purge line to the canister purge solenoid. Refer to Plastic Collar Quick Connect Fitting Service (Plastic Collar Quick Connect Fitting Service).
11. Connect the fuel feed line to the fuel rail. Refer to Metal Collar Quick Connect Fitting Service (Metal Collar Quick Connect Fitting Service).
12. Install the exhaust crossover pipe. Refer to Exhaust Crossover Pipe Replacement (Service and Repair).
13. Install the heater inlet and outlet hoses to the engine pipes.
14. Position the heater inlet and outlet hose clamps at the engine.




15. Install the brake booster vacuum hose to the intake manifold.




16. Install the radiator outlet hose to the thermostat housing.
17. Position the radiator outlet hose clamp at the thermostat housing.
18. Raise and support the vehicle.




19. Install the transaxle-to-engine lower rear bolt.

Tighten the bolt to 75 Nm (55 lb ft).




20. Install the transaxle brace.
21. Install the transaxle brace to engine bolts.
22. Install the transaxle brace to transaxle bolts.

Tighten the bolts to 63 Nm (46 lb ft).




23. Position the A/C compressor and install the compressor front bolt and nut.

Tighten the bolt/nut to 50 Nm (37 lb ft).




24. Install the A/C compressor rear bolt.

Tighten the bolt to 50 Nm (37 lb ft).




25. Install the torque converter bolts.

Tighten the bolts to 63 Nm (46 lb ft).

26. Install the starter motor. Refer to Starter Replacement (V6) (Service and Repair)Starter Replacement (V8) (Service and Repair).
27. Install the torque converter cover. Refer to Torque Converter Cover Replacement (4T65-E - Automatic Transmission).




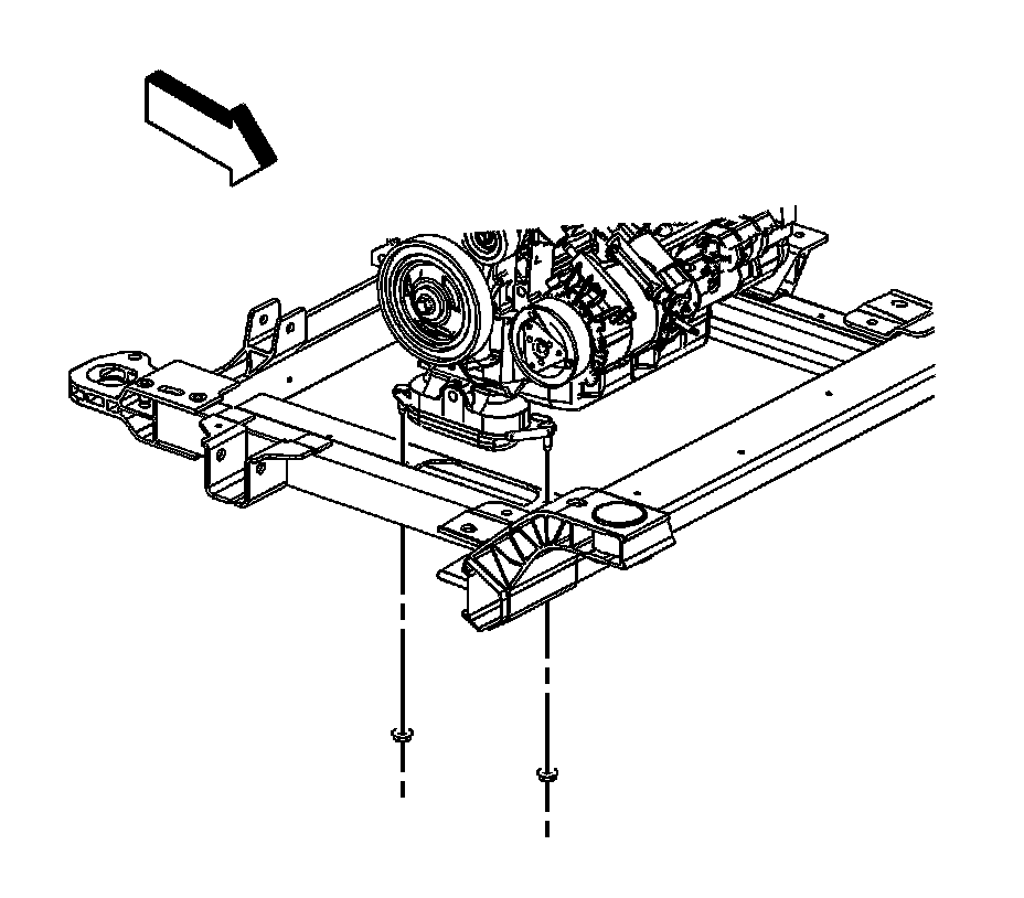
28. Install the engine mount lower nuts.

Tighten the nuts to 50 Nm (37 lb ft).




29. Install the catalytic converter. Refer to Catalytic Converter Replacement (V8) (Service and Repair).
30. Position the engine harness over the engine.
31. Position the engine harness ground terminals (1) to the transmission.
32. Install the engine harness ground bolt (2).

Tighten the bolt to 25 Nm (18 lb ft).

33. Install the engine harness clip bolt (3) to the transmission.




34. Connect the CKP sensor electrical connector (4).
35. Connect the knock sensor electrical connector (1).
36. Install the engine harness clips (2, 3) to the transaxle brace.
37. Lower the vehicle.




38. Connect the rear upper HO2S electrical connector (2).
39. Install the CPA retainer (3).




40. Install the engine harness clip (4) to the transaxle bracket.
41. Install the engine harness clip bolt (3).

Tighten the bolt to 25 Nm (18 lb ft).

42. Connect the camshaft phasor sensor electrical connector (2).




43. Connect the fuel injector inline (1) electrical connector.
44. Install the engine harness clips (2, 3) to the brackets.




45. Connect the ignition coil electrical connector (6).
46. Connect the generator electrical connector (3).
47. Install the generator terminal (4).
48. Install the generator terminal nut (5).

Tighten the nut to 30 Nm (22 lb ft).

49. Position the generator terminal boot (2).
50. Connect the MAP sensor electrical connector (1).




51. Connect the ETC (2) electrical connector.
52. Connect the EVAP canister purge solenoid (1) electrical connector.




53. Raise the vehicle.
54. Connect the oil level sensor electrical connector.
55. Install the engine harness clips to the transaxle brace and the oil pan.




56. Connect the A/C compressor electrical connector (4).
57. Connect the starter motor electrical connector (3)
58. Connect the knock sensor (2) electrical connector.
59. Connect the oil pressure sensor (1) electrical connector.




60. Install the oil pressure sensor heat shield and nuts.

Tighten the nuts to 10 Nm (89 lb in).

61. Lower the vehicle.
62. Install the engine mount struts. Refer to Engine Mount Strut Replacement (Engine Mount Strut Replacement).
63. Install the drive belt. Refer to Drive Belt Replacement (Service and Repair).
64. Install the air cleaner assembly. Refer to Air Cleaner Assembly Replacement (Service and Repair).
65. Install the hood. Refer to Hood Replacement (Service and Repair).
66. Fill the engine with oil. Refer to Engine Oil and Oil Filter Replacement (Service and Repair).
67. Fill the cooling system. Refer to Cooling System Draining and Filling (Static Fill) (Cooling System Draining and Filling (Static Fill))Cooling System Draining and Filling (Vac-N-Fill) (Cooling System Draining and Filling (Vac-N-Fill)).
68. Install the intake manifold cover. Refer to Intake Manifold Cover Replacement (Intake Manifold Cover Replacement).
69. Connect the negative battery cable. Refer to Battery Negative Cable Disconnection and Connection (Battery Negative Cable Disconnection and Connection).