Curiosii for ever!: Car repair manuals for everyone.

Control Valve Body Assembly




Disassembled Views (6T40/45)

Control Valve Body Assembly (1 of 2)




400 - Control Valve Body Bolt
401 - Control Solenoid Valve Support
402 - Valve Channel Plate
403 - Channel Plate to Valve Body Spacer Plate Assembly
404 - Control Valve Body Ball Check Valve
405 - Control Valve Body Assembly

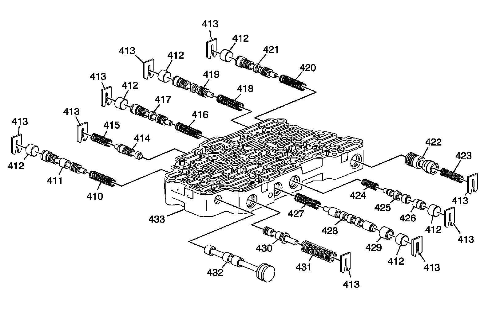
Control Valve Body Assembly (2 of 2)




410 - Reverse and 4-5-6 Clutch Regulator Valve Spring
411 - Reverse and 4-5-6 Clutch Regulator Valve
412 - Clutch Valve Bore Plug
413 - Valve Spring Retainer
414 - 1-2-3-4 Clutch Boost Valve
415 - 1-2-3-4 Clutch Boost Valve Spring
416 - 1-2-3-4 Clutch Regulator Valve Spring
417 - 1-2-3-4 Clutch Regulator Valve
418 - 2-6 Clutch Regulator Valve Spring
419 - 2-6 Clutch Regulator Valve
420 - 3-5-Reverse Clutch Regulator Valve Spring
421 - 3-5-Reverse Clutch Regulator Valve
422 - Clutch Piston Dam Feed Regulator Valve
423 - Clutch Piston Dam Feed Regulator Valve Spring
424 - Torque Converter Clutch Regulator Apply Valve Spring
425 - Torque Converter Clutch Regulator Apply Valve
426 - Torque Converter Clutch Regulator Apply Shuttle Valve
427 - Clutch Select Valve Spring
428 - Clutch Select Valve
429 - Default Override Shuttle Valve
430 - Actuator Feed Limit Valve
431 - Actuator Feed Limit Valve Spring
432 - Manual Valve
433 - Control Valve Body Assembly